Запчасти Komatsu PC40-1 ГИДРОЛИНИЯ (КЛАПАН - БАК) ГИДРАВЛИКА

Схема запчастей Komatsu PC40-1 - ГИДРОЛИНИЯ (КЛАПАН - БАК) ГИДРАВЛИКА
FIT
1:1
100%

Артикул

Название

Примечание

Количество

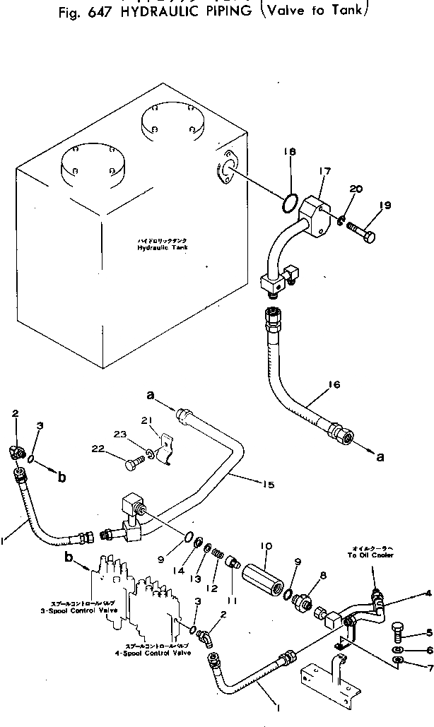
1

07102-20505

HOSE

2

07235-10522

ELBOW

3

07002-02434

O-RING

4

20T-62-51710

TUBE

5

01010-31025

BOLT

6

01602-01030

WASHER,SPRING

7

01643-31032

WASHER

8

20T-62-51660

NIPPLE

9

07002-13334

O-RING

|$9

201-62-21600

CHECK VALVE ASS'Y

10

203-60-21280

BODY

11

201-62-21590

POPPET

12

203-60-21310

SPRING

13

205-60-51320

SEAT

14

04065-02812

RING,SNAP

15

20T-62-51442

TUBE

16

07102-21005

HOSE

17

20T-62-51461

TUBE

18

07000-02060

O-RING

19

01010-31275

BOLT

20

01602-01236

WASHER,SPRING

21

20T-62-51620

CLIP

22

01010-31030

BOLT

23

01602-01030

WASHER,SPRING

Выбрано товаров: 24