Запчасти Komatsu PC40-2 ЭЛЕКТРИКА КОМПОНЕНТЫ ДВИГАТЕЛЯ И ЭЛЕКТРИКА

Схема запчастей Komatsu PC40-2 - ЭЛЕКТРИКА КОМПОНЕНТЫ ДВИГАТЕЛЯ И ЭЛЕКТРИКА
FIT
1:1
100%

Артикул

Название

Примечание

Количество

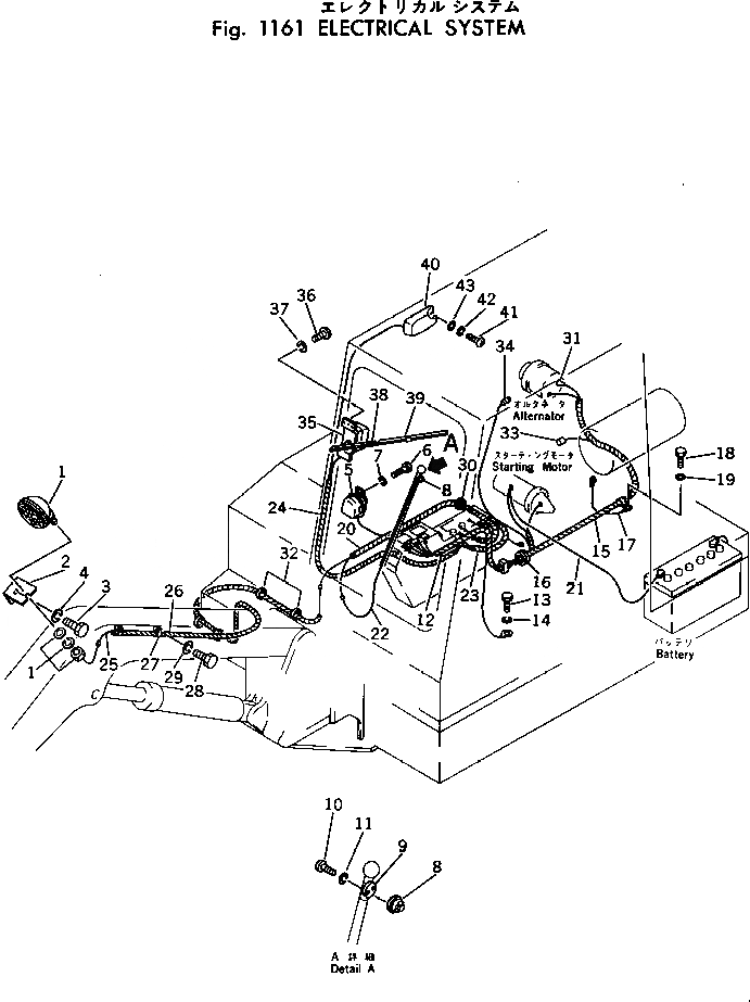
1

08125-01200

LAMP ASS'Y

2

201-06-21110

BRACKET

3

01010-31225

BOLT

4

01602-01236

WASHER,SPRING

5

08160-41200

HORN

6

01010-30816

BOLT

7

01602-00825

WASHER,SPRING

8

20N-06-11230

SWITCH,HORN

9

20S-06-13110

SEAT

10

01220-40316

SCREW

11

01601-00307

WASHER,SPRING

12

20T-06-22130

WIRE ASS'Y

13

01010-31016

BOLT

14

01642-01016

WASHER

15

20T-06-22140

WIRE ASS'Y

16

08037-03614

GROMMET

17

20R-06-11240

WIRE

18

01010-31016

BOLT

19

01642-01016

WASHER

20

20T-06-22150

WIRE ASS'Y

21

20T-06-22160

WIRE

22

20S-06-13190

WIRE

23

20S-06-13310

WIRE ASS'Y

24

20S-06-13320

WIRE ASS'Y

25

20T-06-11170

WIRE

26

08017-11032

CONDUIT

27

08035-01510

CLIP

28

01010-31020

BOLT

29

01602-01030

WASHER,SPRING

30

08037-02512

GROMMET

31

08038-00525

CAP

32

08034-00834

BAND

33

08073-00505

SWITCH,OIL PRESSURE

34

198-06-11940

SENSOR,UNIT

35

08180-01280

WIPER MOTOR ASS'Y

36

01220-40612

SCREW

37

01602-20619

WASHER,SPRING

38

08184-20450

ARM

39

08185-00400

BLADE

40

08141-01200

LAMP

41

01220-40416

SCREW

42

01601-20410

WASHER,SPRING

43

01641-20405

WASHER

Выбрано товаров: 43