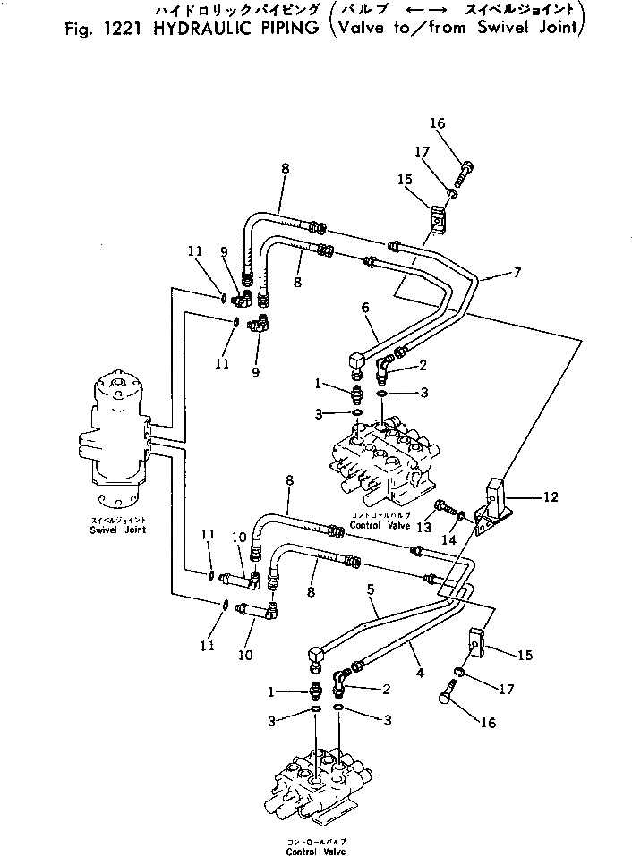
Запчасти Komatsu PC40-2 ГИДРОЛИНИЯ (КЛАПАН TO/FROM ПОВОРОТНОЕ СОЕДИНЕНИЕ)(№-) ХОД И КОНЕЧНАЯ ПЕРЕДАЧА

Схема запчастей Komatsu PC40-2 - ГИДРОЛИНИЯ (КЛАПАН TO/FROM ПОВОРОТНОЕ СОЕДИНЕНИЕ)(№-) ХОД И КОНЕЧНАЯ ПЕРЕДАЧА
FIT
1:1
100%

Артикул

Название

Примечание

Количество

1

07230-10315

UNION

2

20R-62-11311

ELBOW

3

07002-12034

O-RING

4

20T-62-54310

TUBE

5

20T-62-54320

TUBE

6

20T-62-54340

TUBE

7

20T-62-54330

TUBE

8

07108-20303

HOSE

9

07235-10315

ELBOW

10

20R-62-11360

ELBOW

11

07002-12034

O-RING

12

20T-62-54350

BRACKET

13

01010-51020

BOLT

14

01602-21030

WASHER,SPRING

15

20T-62-13660

CLAMP

16

01010-51040

BOLT

17

01602-21030

WASHER,SPRING

Выбрано товаров: 17