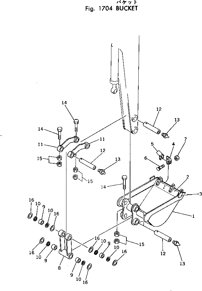
Запчасти Komatsu PC40-2 КОВШ РАБОЧЕЕ ОБОРУДОВАНИЕ

Схема запчастей Komatsu PC40-2 - КОВШ РАБОЧЕЕ ОБОРУДОВАНИЕ
FIT
1:1
100%

Артикул

Название

Примечание

Количество

1

20T-70-13112

BUCKET,537MM, 0.18M3

2

20T-70-13210

LIP (WELDED)

3

20T-70-13160

CUTTER,SIDE

4

20T-70-13130

TOOTH

5

20T-70-05010

SHIM ASS'Y

5

SHIM, 1.0MM

5

SHIM, 0.5MM

6

02090-11060

BOLT

7

02205-11015

NUT

|$9

20T-70-00060

LINK ASS'Y

8

LINK

9

07143-10405

BUSHING

10

07145-00045

SEAL,DUST

11

20T-70-14120

LINK,L.H.

11

20T-70-14131

LINK,R.H.

12

20T-70-13121

PIN

13

07020-00000

FITTING,GREASE

14

01011-31205

BOLT

15

01580-01210

NUT

16

20T-70-19130

SPACER, 1.0MM

Выбрано товаров: 20