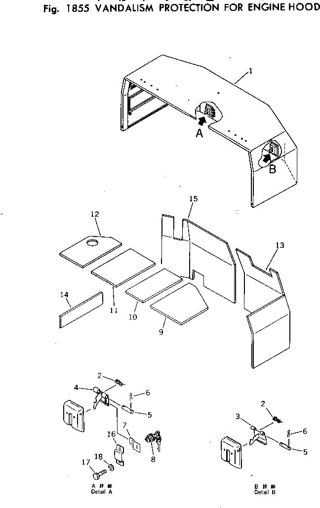
Запчасти Komatsu PC40-2 ЗАЩИТА ОТ ВАНДАЛИЗМА ДЛЯ КАПОТА ОПЦИОННЫЕ КОМПОНЕНТЫ

Схема запчастей Komatsu PC40-2 - ЗАЩИТА ОТ ВАНДАЛИЗМА ДЛЯ КАПОТА ОПЦИОННЫЕ КОМПОНЕНТЫ
FIT
1:1
100%

Артикул

Название

Примечание

Количество

|$0

20T-54-28100

HOOD ASS'Y

1

20T-54-28110

HOOD

2

20T-54-26430

SPRING

3

20R-54-21160

LEVER

4

20R-54-23230

LEVER

5

09461-00022

PIN

6

04050-13018

PIN,COTTER

7

20R-54-23240

PLATE

8

205-54-63730

LOCK ASS'Y

9

20T-54-26341

SHEET

10

20T-54-26351

SHEET

11

20T-54-26361

SHEET

12

20T-54-26371

SHEET

13

20T-54-26391

SHEET

14

20T-54-26421

SHEET

15

20T-54-28120

SHEET

16

20T-54-28130

COVER

17

01010-50812

BOLT

18

01643-30823

WASHER

Выбрано товаров: 19