Запчасти Komatsu PC40-2 ГИДРОЛИНИЯ (/) (ДЛЯ SERVICE) ОПЦИОННЫЕ КОМПОНЕНТЫ

Схема запчастей Komatsu PC40-2 - ГИДРОЛИНИЯ (/) (ДЛЯ SERVICE) ОПЦИОННЫЕ КОМПОНЕНТЫ
FIT
1:1
100%

Артикул

Название

Примечание

Количество

|$0

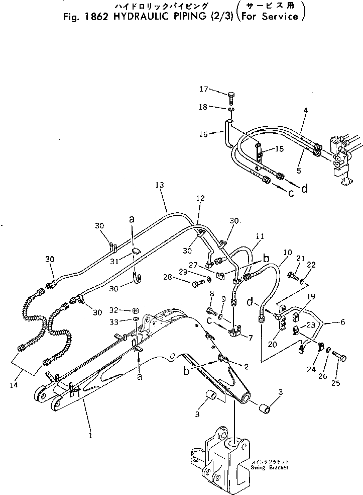
20T-973-0010

BOOM ASS'Y

1

BOOM

2

20T-973-2421

BRACKET

3

20T-70-11160

BUSHING

4

07113-00412

HOSE

5

07113-00512

HOSE

6

20T-973-2470

TUBE

7

20T-973-2521

TUBE

8

01010-51025

BOLT

9

01602-21030

WASHER,SPRING

10

07113-00409

HOSE

11

07113-00509

HOSE

12

20T-973-2531

TUBE,L.H.

13

20T-973-2542

TUBE,R.H.

14

07109-20509

HOSE

15

20T-973-2450

PLATE

16

20T-973-2460

PLATE

17

01010-30612

BOLT

18

01602-00619

WASHER,SPRING

19

20T-973-2510

CLAMP

20

20T-973-2490

CLAMP

21

01010-51045

BOLT

22

01602-21030

WASHER,SPRING

23

20T-973-2480

CLAMP

24

20T-62-52320

CLAMP

25

01010-51080

BOLT

26

01602-21030

WASHER,SPRING

27

20T-62-52320

CLAMP

28

01010-51025

BOLT

29

01602-21030

WASHER,SPRING

30

07283-22236

CLIP

31

07283-52232

SEAT

32

01599-01011

NUT

33

01643-31032

WASHER

Выбрано товаров: 34