Запчасти Komatsu PC40-3 РАДИО ОПЦИОННЫЕ КОМПОНЕНТЫ

Схема запчастей Komatsu PC40-3 - РАДИО ОПЦИОННЫЕ КОМПОНЕНТЫ
FIT
1:1
100%

Артикул

Название

Примечание

Количество

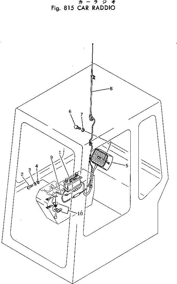
1

20T-976-1220

RADIO ASS'Y

2

01220-40512

SCREW

3

01602-20513

WASHER,SPRING

4

01642-20508

WASHER

5

20T-976-1230

SPEAKER

6

01010-50610

BOLT

7

01602-20619

WASHER,SPRING

8

201-06-21420

ANTENNA

9

20T-976-2250

WIRE

10

201-06-29120

CONDENSER

Выбрано товаров: 10