Запчасти Komatsu PC40-3 ЭЛЕКТРИКА (ДЛЯ ХОД ТОРМОЗ.) (КРОМЕ ЯПОН.) ОПЦИОННЫЕ КОМПОНЕНТЫ

Схема запчастей Komatsu PC40-3 - ЭЛЕКТРИКА (ДЛЯ ХОД ТОРМОЗ.) (КРОМЕ ЯПОН.) ОПЦИОННЫЕ КОМПОНЕНТЫ
FIT
1:1
100%

Артикул

Название

Примечание

Количество

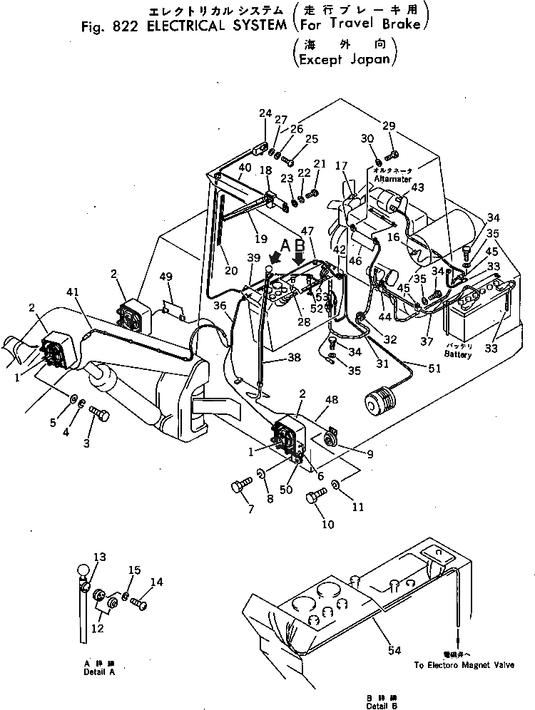
1

08125-01200

LAMP ASS'Y

1

08107-01260

BULB, 60W

1

08125-00006

LENS

2

20S-06-14110

COVER

3

01010-51225

BOLT

4

01602-21236

WASHER,SPRING

5

01643-31232

WASHER

6

20S-06-14120

BRACKET

7

01010-51225

BOLT

8

01602-21236

WASHER,SPRING

9

08160-41200

HORN

10

01010-50816

BOLT

11

01602-20825

WASHER,SPRING

12

20N-06-11230

SWITCH

13

20S-06-13110

SEAT

14

01220-40316

SCREW

15

01601-20307

WASHER,SPRING

16

08073-00505

SWITCH

17

198-06-11940

SENSOR

18

20S-06-13410

MOTOR,WIPER

19

20S-06-13470

ARM

20

20S-06-13430

BLADE

21

01220-40516

SCREW

22

01601-20513

WASHER,SPRING

23

01641-20508

WASHER

24

08141-01200

LAMP

24

08116-01210

BULB, 10W

25

01220-40416

SCREW

26

01601-20410

WASHER,SPRING

27

01641-20405

WASHER

28

20T-06-23111

WIRE ASS'Y

29

01010-51020

BOLT

30

01642-21016

WASHER

31

20T-06-22140

WIRE ASS'Y

32

08037-03614

GROMMET

33

20R-06-11240

WIRE

34

01010-51016

BOLT

35

01642-21016

WASHER

36

20T-06-23180

HARNESS

37

20T-06-22160

WIRE

38

20S-06-13190

WIRE

39

20S-06-14171

WIRE ASS'Y

40

20S-06-13460

WIRE ASS'Y

41

20T-06-13170

WIRE

42

08037-02512

GROMMET

43

08038-00519

CAP

44

08036-02514

CLIP

45

08036-01414

CLIP

46

08036-10810

CLIP

47

08036-01814

CLIP

48

20T-06-23130

WIRE ASS'Y

49

203-06-21150

CLIP

50

130-06-14270

GROMMET

51

20S-977-1130

WIRE

52

20S-977-1140

WIRE

53

20S-977-1150

WIRE

54

20T-06-25230

WIRE

Выбрано товаров: 0