Запчасти Komatsu PC40-3 КАБИНА(ОСНОВН. КОНСТРУКЦИЯ)(/)(ДЛЯ ХОД ТОРМОЗ.)(КРОМЕ ЯПОН. ОПЦИОННЫЕ КОМПОНЕНТЫ

Схема запчастей Komatsu PC40-3 - КАБИНА(ОСНОВН. КОНСТРУКЦИЯ)(/)(ДЛЯ ХОД ТОРМОЗ.)(КРОМЕ ЯПОН. ОПЦИОННЫЕ КОМПОНЕНТЫ
FIT
1:1
100%

Артикул

Название

Примечание

Количество

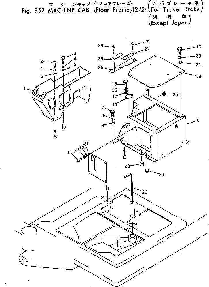
1

20T-54-28521

BOX,PANEL

1

20T-54-28520

BOX,PANEL

2

01010-51025

BOLT

3

01010-51035

BOLT

4

01602-21030

WASHER,SPRING

5

01643-31032

WASHER

6

20T-54-27810

BOX

6

20S-54-15120

BOX

7

01010-51025

BOLT

8

01602-21030

WASHER,SPRING

9

01643-31032

WASHER

10

20T-54-27111

PLATE

10

20T-54-27110

PLATE

11

01220-40616

SCREW

12

01602-20619

WASHER,SPRING

13

01643-30623

WASHER

14

20T-54-26121

PLATE

14

20T-54-26120

PLATE

15

01010-50620

BOLT

16

01602-20619

WASHER,SPRING

17

01643-30623

WASHER

18

20T-54-27820

COVER

18

20S-54-15150

COVER

19

01010-51025

BOLT

20

01602-21030

WASHER,SPRING

21

01643-31032

WASHER

22

20T-54-27120

PIN

23

08037-01610

GROMMET

24

09415-01610

CAP

25

08037-02512

GROMMET

26

20T-54-27150

SEAL

27

20T-54-27170

PLATE

28

20T-54-27160

PLATE

29

01370-00512

SCREW

Выбрано товаров: 34