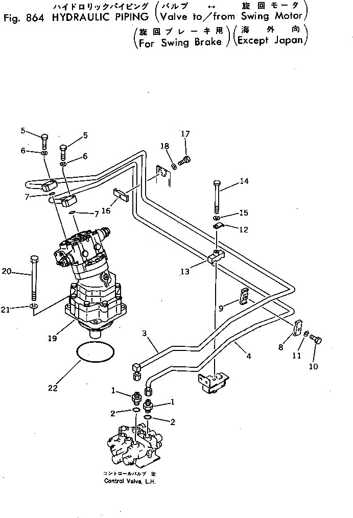
Запчасти Komatsu PC40-3 HYD. ТРУБЫ(КЛАПАН TO/FROM МОТОР ПОВОРОТА)(F.T.B.)(E.J.) ОПЦИОННЫЕ КОМПОНЕНТЫ

Схема запчастей Komatsu PC40-3 - HYD. ТРУБЫ(КЛАПАН TO/FROM МОТОР ПОВОРОТА)(F.T.B.)(E.J.) ОПЦИОННЫЕ КОМПОНЕНТЫ
FIT
1:1
100%

Артикул

Название

Примечание

Количество

1

07230-10315

UNION

2

07002-12034

O-RING

3

20T-62-58150

TUBE

4

20T-62-58140

TUBE

5

01010-50845

BOLT

6

01602-20825

WASHER,SPRING

7

07000-13028

O-RING

8

20T-62-12860

CLAMP

9

20S-62-11680

CLAMP

10

01010-51030

BOLT

11

01602-21030

WASHER,SPRING

12

20T-62-56430

CLAMP

13

20T-62-56440

CLAMP

14

01011-51020

BOLT

15

01602-21030

WASHER,SPRING

16

22R-62-12670

CLAMP

17

01010-51030

BOLT

18

01602-21030

WASHER,SPRING

19

706-73-02900

SWING MOTOR ASS'Y

20

01010-51240

BOLT

21

01643-31232

WASHER

22

07000-02135

O-RING

Выбрано товаров: 22