Запчасти Komatsu PC40-3 ПАНЕЛЬ ПРИБОРОВ (СПЕЦ-Я TBG) ОПЦИОННЫЕ КОМПОНЕНТЫ

Схема запчастей Komatsu PC40-3 - ПАНЕЛЬ ПРИБОРОВ (СПЕЦ-Я TBG) ОПЦИОННЫЕ КОМПОНЕНТЫ
FIT
1:1
100%

Артикул

Название

Примечание

Количество

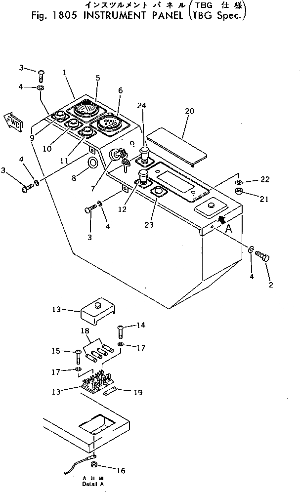
1

20T-06-23150

PANEL

2

01010-30816

BOLT

3

01220-40816

SCREW

4

01602-00825

WASHER,SPRING

5

362-06-11140

GAUGE,WATER TEMPERATURE

6

08687-21202

METER,SERVICE

7

201-06-21510

SWITCH,STARTING

8

205-26-91140

SPACER

9

10E-06-22150

LAMP,CHARGING

10

10E-06-22140

LAMP,ENGINE OIL PRESSURE

11

600-815-1790

SIGNAL,GLOW

12

08061-30010

SWITCH,LAMP

13

08043-04000

BOX,FUSE

14

01220-40520

SCREW

15

01220-40525

SCREW,GROUND CONNECTION

16

01580-10504

NUT,GROUND CONNECTION

17

01601-20513

WASHER,SPRING

18

08040-02000

FUSE, 20A

19

150-06-14290

TERMINAL

20

20S-06-12120

COVER

21

01580-10806

NUT

22

01602-00825

WASHER,SPRING

23

130-911-1640

PLUG

24

08183-00000

SWITCH,WIPER

Выбрано товаров: 24