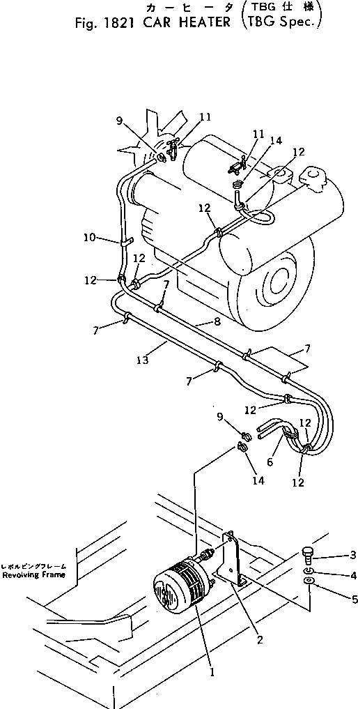
Запчасти Komatsu PC40-3 ОБОГРЕВАТЕЛЬ. (СПЕЦ-Я TBG) ОПЦИОННЫЕ КОМПОНЕНТЫ

Схема запчастей Komatsu PC40-3 - ОБОГРЕВАТЕЛЬ. (СПЕЦ-Я TBG) ОПЦИОННЫЕ КОМПОНЕНТЫ
FIT
1:1
100%

Артикул

Название

Примечание

Количество

1

09480-20000

HEATER

2

20S-977-1110

BRACKET

3

01010-51025

BOLT

4

01602-21030

WASHER,SPRING

5

01643-31032

WASHER

6

120-06-24110

GROMMET

7

08034-00519

BAND

8

09483-00424

HOSE

9

07281-00259

CLAMP

10

08036-03014

CLIP

11

201-54-24130

VALVE

12

202-981-1360

BUSHING

13

09483-00430

HOSE

14

07281-00259

CLAMP

Выбрано товаров: 14