Запчасти Komatsu PC40-3 ОСНОВНАЯ РАМА И ПРОТИВОВЕС (ДЛЯ НАВЕСА) (США СПЕЦ-Я.) ОПЦИОННЫЕ КОМПОНЕНТЫ

Схема запчастей Komatsu PC40-3 - ОСНОВНАЯ РАМА И ПРОТИВОВЕС (ДЛЯ НАВЕСА) (США СПЕЦ-Я.) ОПЦИОННЫЕ КОМПОНЕНТЫ
FIT
1:1
100%

Артикул

Название

Примечание

Количество

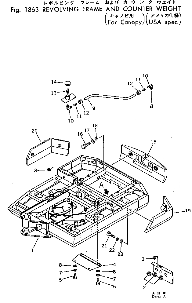
1

20T-46-27100

FRAME

2

08037-05016

GROMMET

3

08037-02512

GROMMET

4

20T-46-23150

COVER

5

01010-51230

BOLT

6

01010-51250

BOLT

7

01602-21236

WASHER,SPRING

8

01643-31232

WASHER

9

20T-54-26760

TUBE

10

20R-46-11150

ELBOW

11

07831-00411

SLEEVE

12

07832-00410

NUT,SLEEVE

13

07020-00000

FITTING,GREASE

14

20X-46-11170

CAP

15

20T-46-25311

WEIGHT,COUNTER

15

20T-46-25310

WEIGHT,COUNTER

16

01010-52045

BOLT

17

01602-22060

WASHER,SPRING

18

01643-32060

WASHER

19

20T-46-23381

BUMPER,L.H.

19

20T-46-23380

BUMPER,L.H.

20

20T-46-23891

BUMPER,R.H.

20

20T-46-23390

BUMPER,R.H.

21

01050-51230

BOLT

22

01602-21236

WASHER,SPRING

23

01643-31232

WASHER

Выбрано товаров: 26