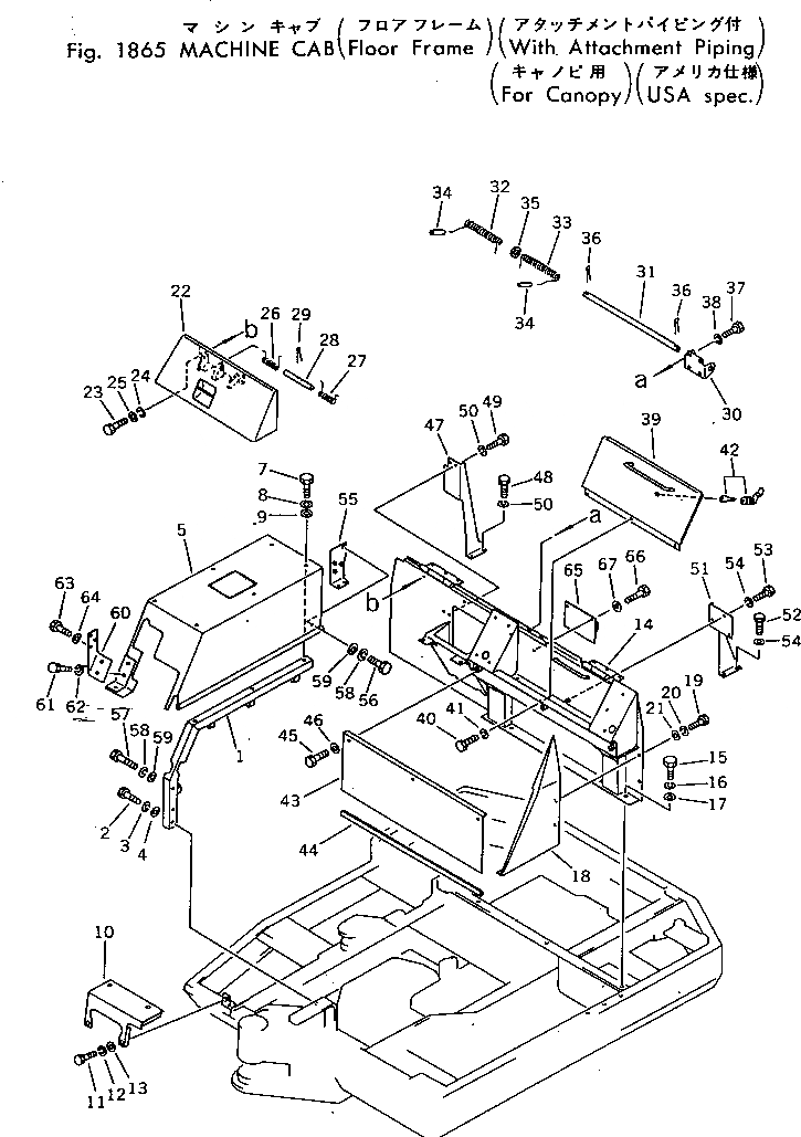
Запчасти Komatsu PC40-3 КАБИНА(ОСНОВН. КОНСТРУКЦИЯ)(С НАВЕСН.ОБОРУД ТРУБЫ)(ДЛЯ НАВЕСА)(США) ОПЦИОННЫЕ КОМПОНЕНТЫ

Схема запчастей Komatsu PC40-3 - КАБИНА(ОСНОВН. КОНСТРУКЦИЯ)(С НАВЕСН.ОБОРУД ТРУБЫ)(ДЛЯ НАВЕСА)(США) ОПЦИОННЫЕ КОМПОНЕНТЫ
FIT
1:1
100%

Артикул

Название

Примечание

Количество

1

20T-54-28430

BRACKET

2

01010-31025

BOLT

3

01602-01030

WASHER,SPRING

4

01643-31032

WASHER

5

20T-973-3910

COVER

7

01010-51025

BOLT

8

01602-21030

WASHER,SPRING

9

01643-31032

WASHER

10

20T-54-28460

COVER

11

01010-51025

BOLT

12

01602-21030

WASHER,SPRING

13

01643-31032

WASHER

14

20T-54-28312

STAND

15

01010-51025

BOLT

16

01602-21030

WASHER,SPRING

17

01643-31032

WASHER

18

20T-54-28321

COVER

19

01010-51030

BOLT

20

01602-21030

WASHER,SPRING

21

01643-31032

WASHER

22

20T-54-28331

COVER

23

01010-51025

BOLT

24

01602-21030

WASHER,SPRING

25

01643-31032

WASHER

26

20T-54-26480

SPRING

27

20T-54-26490

SPRING

28

20T-54-26750

PIPE

29

04050-31025

PIN

30

20T-54-26240

BRACKET

31

20T-54-26250

ROD

32

20T-54-26730

SPRING

33

20T-54-26740

SPRING

34

20T-54-26780

PIPE

35

20T-54-26280

SPACER

36

04050-16045

PIN

37

01010-51025

BOLT

38

01602-21030

WASHER

39

20T-54-28341

COVER

40

01010-51025

BOLT

41

01602-21030

WASHER

42

20T-54-28360

KEY

43

20T-54-28370

COVER

44

20T-54-28380

SEAL

45

01010-51025

BOLT

46

01643-31032

WASHER,SPRING

47

20T-54-28390

BRACKET

48

01010-51020

BOLT

49

01010-51025

BOLT

50

01602-21030

WASHER,SPRING

51

20T-54-28411

BRACKET

52

01010-51020

BOLT

53

01010-51025

BOLT

54

01602-21030

WASHER

55

20T-54-28440

BRACKET

56

01010-51045

BOLT

57

01010-51070

BOLT

58

01643-21030

WASHER

59

01643-31032

WASHER

60

20T-973-2290

BRACKET

61

01010-51235

BOLT

62

01602-21236

WASHER

63

01010-51020

BOLT

64

01643-21032

WASHER

65

20T-01-33510

SUPPORT

66

01010-51020

BOLT

67

01642-21016

WASHER

Выбрано товаров: 66