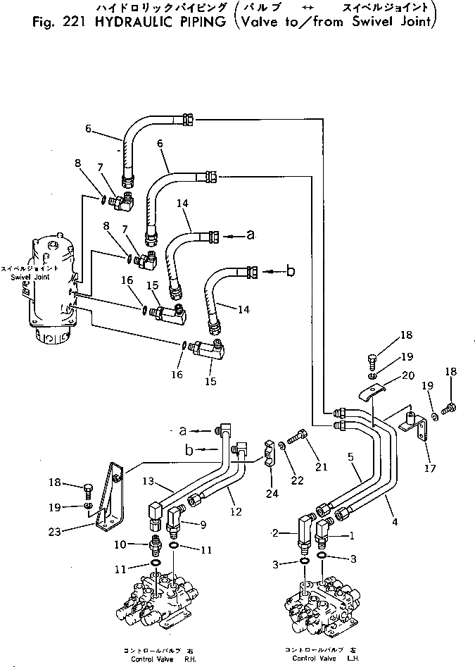
Запчасти Komatsu PC40-3 ГИДРОЛИНИЯ (КЛАПАН TO/FROM ПОВОРОТНОЕ СОЕДИНЕНИЕ) ХОД И КОНЕЧНАЯ ПЕРЕДАЧА

Схема запчастей Komatsu PC40-3 - ГИДРОЛИНИЯ (КЛАПАН TO/FROM ПОВОРОТНОЕ СОЕДИНЕНИЕ) ХОД И КОНЕЧНАЯ ПЕРЕДАЧА
FIT
1:1
100%

Артикул

Название

Примечание

Количество

1

20T-62-56510

ELBOW

2

20T-62-56520

ELBOW

3

07002-12034

O-RING

4

20T-62-56530

TUBE

5

20T-62-56540

TUBE

6

20R-62-21430

HOSE

7

07235-10422

ELBOW

8

07002-12034

O-RING

9

20T-62-56560

ELBOW

10

07230-10422

UNION

11

07002-12034

O-RING

12

20T-62-56571

TUBE

13

20T-62-56581

TUBE

14

20T-62-56110

HOSE

15

20T-62-54190

ELBOW

16

07002-12034

O-RING

17

20T-62-56550

BRACKET

18

01010-51025

BOLT

19

01602-21030

WASHER,SPRING

20

575-62-15610

CLAMP

21

01010-51025

BOLT

22

01602-21030

WASHER,SPRING

23

20T-62-56610

BRACKET

24

362-62-13521

CLAMP

Выбрано товаров: 24