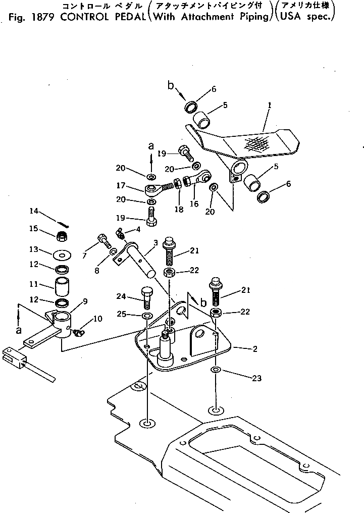
Запчасти Komatsu PC40-3 ПЕДАЛЬ УПРАВЛ-Я (С НАВЕСН. ОБОРУД ТРУБЫ) (США СПЕЦ-Я.) ОПЦИОННЫЕ КОМПОНЕНТЫ

Схема запчастей Komatsu PC40-3 - ПЕДАЛЬ УПРАВЛ-Я (С НАВЕСН. ОБОРУД ТРУБЫ) (США СПЕЦ-Я.) ОПЦИОННЫЕ КОМПОНЕНТЫ
FIT
1:1
100%

Артикул

Название

Примечание

Количество

1

20T-973-3940

PEDAL

2

20T-973-3950

BRACKET

3

20S-973-1150

SHAFT

4

07020-00900

FITTING

5

06120-02016

BEARING

6

06122-02004

SEAL

7

01010-50825

BOLT

8

01602-20825

WASHER

9

20T-973-3960

LEVER

10

07020-00675

FITTING

11

06120-02030

BEARING

12

06122-02004

SEAL

13

202-54-11281

WASHER

14

04050-13020

PIN

15

01593-11210

NUT

16

04250-51056

END

17

04252-01061

END

18

01582-11008

NUT

19

01010-51035

BOLT

20

04254-01032

SPACER

21

09311-41237

BUMPER

22

01580-01210

NUT

23

01643-31032

WASHER

24

01010-51025

BOLT

25

01602-21030

WASHER

Выбрано товаров: 25