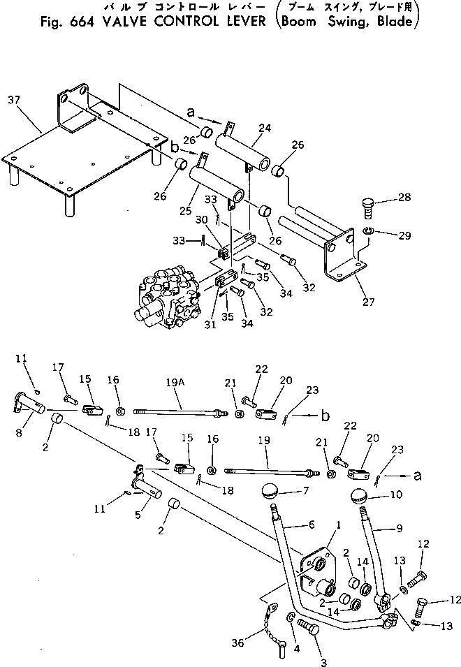
Запчасти Komatsu PC40-3 КЛАПАН РЫЧАГ УПРАВЛ-Я (СТРЕЛА¤ПОВОРОТН.¤ОТВАЛ) ГИДРАВЛИКА

Схема запчастей Komatsu PC40-3 - КЛАПАН РЫЧАГ УПРАВЛ-Я (СТРЕЛА¤ПОВОРОТН.¤ОТВАЛ) ГИДРАВЛИКА
FIT
1:1
100%

Артикул

Название

Примечание

Количество

1

20S-43-12110

BRACKET

2

09350-02020

BUSHING

3

01010-31025

BOLT

4

01602-01030

WASHER,SPRING

5

20S-43-12120

LEVER

6

20S-43-12131

LEVER

7

20R-43-11280

KNOB

8

20S-43-12220

LEVER

9

20S-43-12210

LEVER

10

20R-43-11290

KNOB

11

04010-00519

KEY

12

01010-30830

BOLT

13

01602-00825

WASHER,SPRING

14

06122-02004

SEAL,BEARING

15

20S-43-12150

YOKE,L.H. THREAD

16

01508-21006

NUT, L.H. THREAD,L.H. THREAD

17

04205-10822

PIN

18

04050-12012

PIN,COTTER

19

04248-31045

ROD

19A

04248-31046

ROD

20

20T-43-22210

YOKE

21

01582-11008

NUT

22

04205-10822

PIN

23

04050-12012

PIN,COTTER

24

20T-43-22320

LEVER

25

20T-43-22340

LEVER

26

09350-02220

BUSHING

27

20T-43-22311

SHAFT

28

01010-51025

BOLT

29

01602-21030

WASHER,SPRING

30

20T-43-22330

YOKE

31

20T-43-22350

YOKE

32

04205-10622

PIN

33

04050-11612

PIN,COTTER

34

04205-10520

PIN

35

04050-11210

PIN,COTTER

36

20S-43-12160

LOCK

37

20T-43-22410

BRACKET

Выбрано товаров: 38