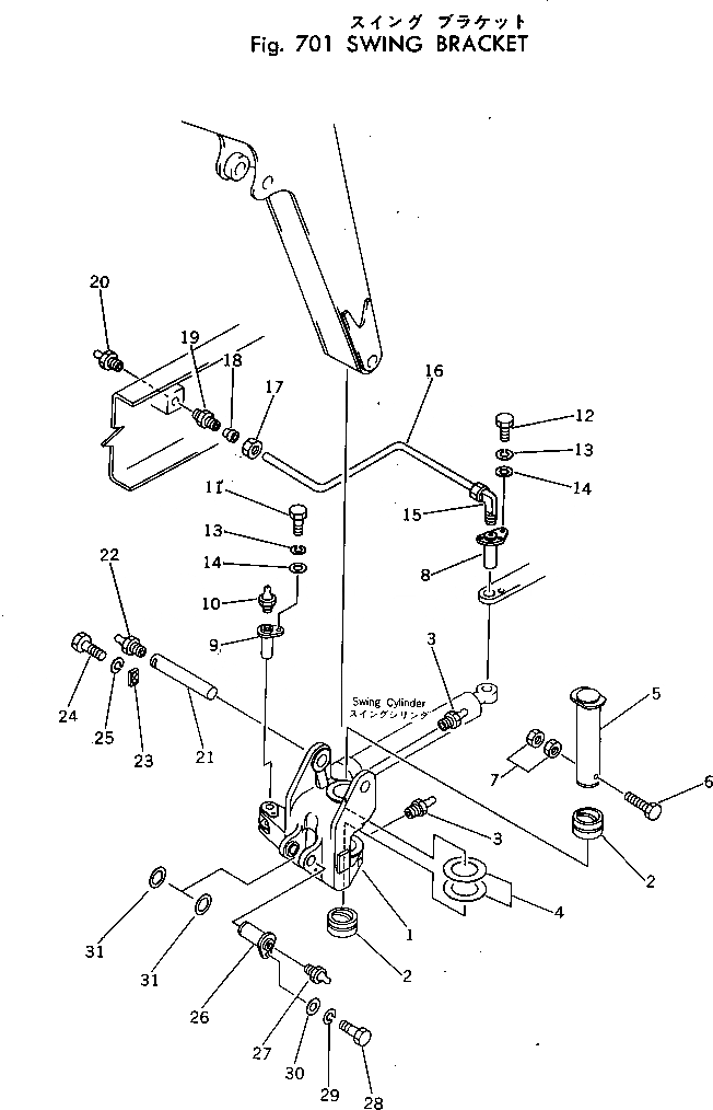
Запчасти Komatsu PC40-3 ПОВОРОТН. БЛОК РАБОЧЕЕ ОБОРУДОВАНИЕ

Схема запчастей Komatsu PC40-3 - ПОВОРОТН. БЛОК РАБОЧЕЕ ОБОРУДОВАНИЕ
FIT
1:1
100%

Артикул

Название

Примечание

Количество

|$0

20T-70-00200

SWING BRACKET ASS'Y

1

BRACKET

2

20T-70-25710

BUSHING

3

07020-00000

FITTING,GREASE

4

20T-70-15140

SPACER

5

20T-70-15131

PIN

6

01011-51680

BOLT

7

01580-01613

NUT

8

20T-70-15150

PIN

9

20T-70-25610

PIN

10

07020-00000

FITTING,GREASE

11

01010-31230

BOLT

12

01010-31235

BOLT

13

01602-01236

WASHER,SPRING

14

01643-31232

WASHER

15

20R-46-11150

ELBOW

16

20T-70-15160

TUBE

17

07832-00410

NUT

18

07831-00411

SLEEVE

19

20R-46-11160

CONNECTOR

20

07020-00000

FITTING,GREASE

21

20T-70-15172

PIN

22

07020-00000

FITTING,GREASE

23

04082-00212

LOCK

24

01010-31225

BOLT

25

01602-01236

WASHER,SPRING

26

20T-70-25630

PIN

27

07020-00000

FITTING,GREASE

28

01010-31640

BOLT

29

01602-01648

WASHER,SPRING

30

01643-31645

WASHER

31

201-70-23140

SPACER, 1.0MM

Выбрано товаров: 32