Запчасти Komatsu PC40-3 КОВШ РАБОЧЕЕ ОБОРУДОВАНИЕ

Схема запчастей Komatsu PC40-3 - КОВШ РАБОЧЕЕ ОБОРУДОВАНИЕ
FIT
1:1
100%

Артикул

Название

Примечание

Количество

|$0

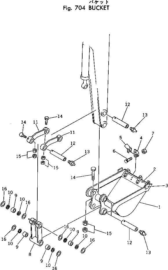
20T-70-00240

BUCKET ASS'Y

1

20T-70-25310

BUCKET

2

20T-70-13210

LIP (WELDED)

3

20T-70-13160

CUTTER,SIDE (WELDED)

4

20T-70-13130

TOOTH

5

20T-70-05010

SHIM ASS'Y

5

SHIM, 1.0MM

5

SHIM, 0.5MM

6

02090-11060

BOLT

7

02205-11015

NUT

|$10

20T-70-00230

LINK ASS'Y

8

LINK

9

20T-70-25740

BUSHING

10

07145-00045

SEAL,DUST

11

20T-70-25420

LINK,L.H.

11

20T-70-25430

LINK,R.H.

12

20T-70-13121

PIN

13

07020-00000

FITTING,GREASE

14

01011-51210

BOLT

15

01580-01210

NUT

16

20T-70-19130

SPACER, 1.0MM

Выбрано товаров: 21