Запчасти Komatsu PC40-5 ПОВОРОТН. ЦИЛИНДР РАБОЧЕЕ ОБОРУДОВАНИЕ

Схема запчастей Komatsu PC40-5 - ПОВОРОТН. ЦИЛИНДР РАБОЧЕЕ ОБОРУДОВАНИЕ
FIT
1:1
100%

Артикул

Название

Примечание

Количество

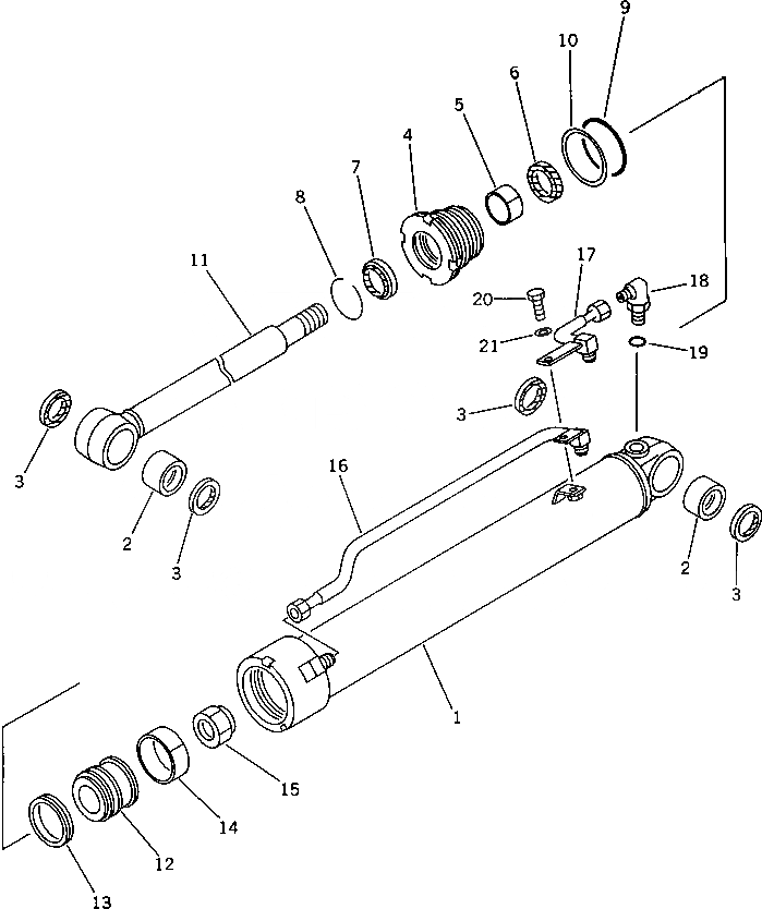
G-1

20T-63-X2040

SWING CYLINDER GROUP

|$2

20T-63-02040

CYLINDER ASS'Y

1

20T-63-86540

CYLINDER

2

07143-10505

BUSHING

3

07145-00050

SEAL,DUST

4

707-29-90291

HEAD,CYLINDER

5

07177-05030

BUSHING

6

707-51-50211

PACKING,ROD

7

176-63-92240

SEAL,DUST

8

07179-00069

RING,SNAP

9

07000-12095

O-RING

10

07001-02095

RING,BACK-UP

11

20T-63-86520

ROD,PISTON

12

707-36-90281

PISTON

13

707-44-90080

RING,PISTON

14

07155-00925

RING,WEAR

15

07165-13638

NUT,NYLON

16

20T-63-86570

TUBE

17

20T-63-86580

TUBE

18

07235-10315

ELBOW

19

07002-12034

O-RING

20

01010-51030

BOLT

21

01643-31032

WASHER

Выбрано товаров: 23