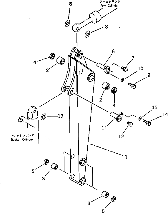
Запчасти Komatsu PC40-5 РУКОЯТЬ РАБОЧЕЕ ОБОРУДОВАНИЕ

Схема запчастей Komatsu PC40-5 - РУКОЯТЬ РАБОЧЕЕ ОБОРУДОВАНИЕ
FIT
1:1
100%

Артикул

Название

Примечание

Количество

|$0

20T-70-00320

ARM ASS'Y

1

ARM

2

20T-70-25730

BUSHING

3

20T-70-25740

BUSHING

4

07145-00050

SEAL,DUST

5

07145-00045

SEAL,DUST

G-1

20T-70-X2200

ARM PIN GROUP

6

20T-70-31520

PIN

7

07020-00000

FITTING,GREASE

8

20T-70-19130

SPACER, 1.0MM

9

01010-51635

BOLT

10

01643-31645

WASHER

11

20T-70-12121

PIN

12

07020-00000

FITTING,GREASE

13

20T-70-19130

SPACER, 1.0MM

14

01010-51635

BOLT

15

01643-31645

WASHER

Выбрано товаров: 17