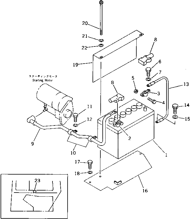
Запчасти Komatsu PC40-5 АККУМУЛЯТОР (МОРОЗОУСТОЙЧИВ. СПЕЦИФИКАЦИЯ) (ДЛЯ НАВЕСА)(№8-9) КОМПОНЕНТЫ ДВИГАТЕЛЯ И ЭЛЕКТРИКА

Схема запчастей Komatsu PC40-5 - АККУМУЛЯТОР (МОРОЗОУСТОЙЧИВ. СПЕЦИФИКАЦИЯ) (ДЛЯ НАВЕСА)(№8-9) КОМПОНЕНТЫ ДВИГАТЕЛЯ И ЭЛЕКТРИКА
FIT
1:1
100%

Артикул

Название

Примечание

Количество

G-1

20T-06-X1000

BATTERY GROUP

1

20T-06-21130

BATTERY, 12V 110AH

2

08000-00000

TERMINAL, (+)

3

08000-00001

TERMINAL, (-)

4

01010-30830

BOLT

5

01580-00806

NUT

6

01050-31018

BOLT

7

01640-01016

WASHER

8

08038-22009

CAP

9

20T-06-31190

WIRE ASS'Y

10

08036-02514

CLIP

11

01010-51016

BOLT

12

01602-21030

WASHER,SPRING

13

20R-06-11240

WIRE

14

01010-51016

BOLT

15

01602-21030

WASHER,SPRING

16

20T-06-31430

BRACKET

17

01010-50816

BOLT

18

01602-20825

WASHER,SPRING

19

20T-06-32110

HOLDER

20

20S-06-11220

ROD

21

01602-20825

WASHER,SPRING

22

01641-20812

WASHER

23

6130-81-9910

PLATE, CAUTION,CAUTION

Выбрано товаров: 24