Запчасти Komatsu PC40-5 ПАНЕЛЬ ПРИБОРОВ КОМПОНЕНТЫ ДВИГАТЕЛЯ И ЭЛЕКТРИКА

Схема запчастей Komatsu PC40-5 - ПАНЕЛЬ ПРИБОРОВ КОМПОНЕНТЫ ДВИГАТЕЛЯ И ЭЛЕКТРИКА
FIT
1:1
100%

Артикул

Название

Примечание

Количество

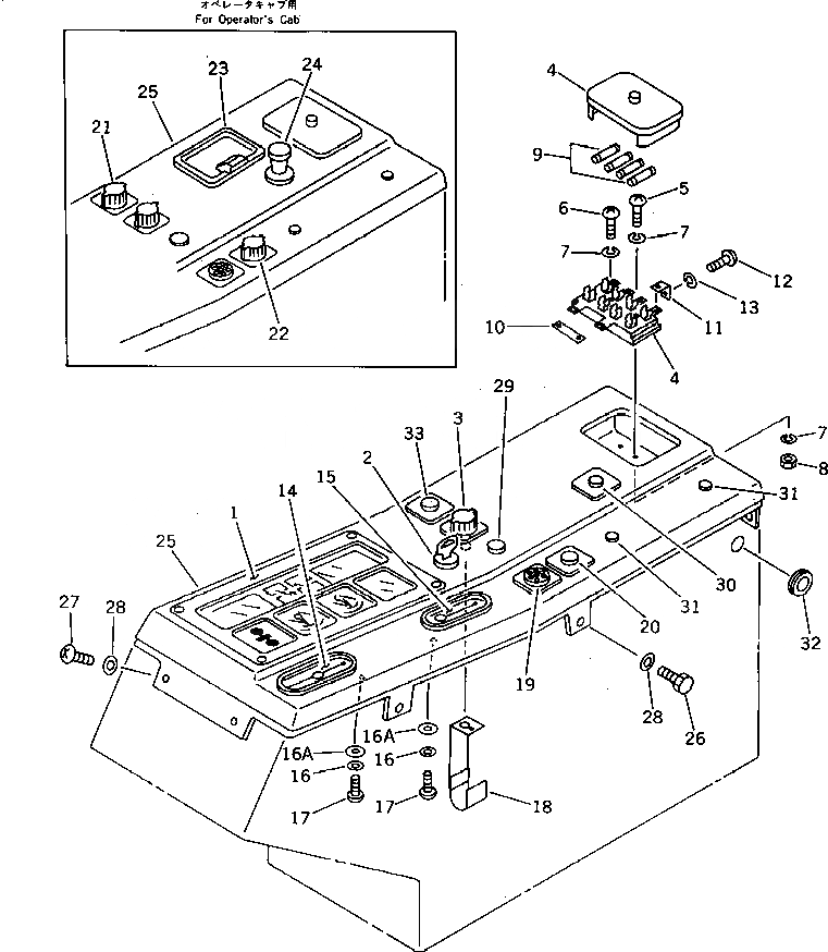
1

20T-06-31310

GAUGE ASS'Y,CLUSTER

2

08086-20000

SWITCH,STARTING

3

205-06-71331

SWITCH,LAMP

4

20S-06-21130

BOX,FUSE

5

01220-40525

SCREW

6

01220-40520

SCREW

7

01601-20513

WASHER,SPRING

8

01580-10504

NUT

9

08040-02000

FUSE, 20A

10

150-06-14290

TERMINAL

11

20S-06-21150

PLATE

12

01220-40406

SCREW

13

01601-20410

WASHER,SPRING

14

20S-06-21161

PLATE

14

20S-06-21160

PLATE

15

20S-06-21171

PLATE

15

20S-06-21170

PLATE

16

362-54-23680

WASHER

16A

20S-06-21690

SPACER

17

01220-40510

SCREW

18

20S-06-21180

CLIP

19

600-815-1790

SIGNAL

20

09415-00706

CAP

21

205-06-71341

SWITCH,WIPER

22

205-06-71321

SWITCH,HEATER

23

20S-06-21210

ASHTRAY

24

20S-06-21190

LIGHTER

25

20S-06-21260

PANEL,(FOR CANOPY)

25

20S-06-21270

PANEL,(FOR CAB)

26

01010-50820

BOLT

27

01220-40820

SCREW

28

01643-30823

WASHER

29

09415-00706

CAP

30

09415-01610

CAP,(FOR CANOPY)

31

09415-00706

CAP

32

08037-02512

GROMMET

33

09415-00706

CAP,(FOR CANOPY)

Выбрано товаров: 37