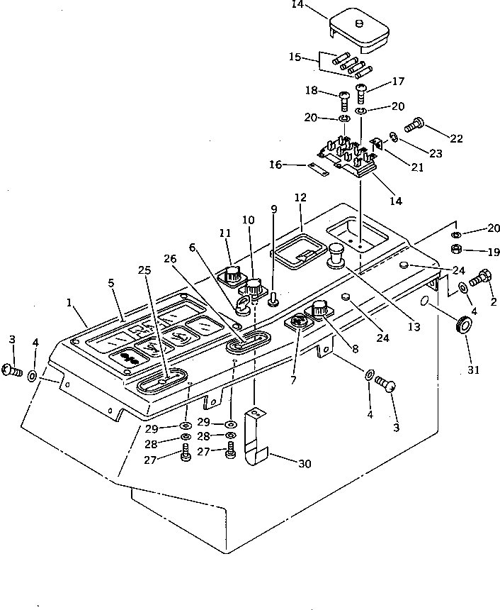
Запчасти Komatsu PC40-5 ПАНЕЛЬ ПРИБОРОВ (TBG СПЕЦ-Я) КОМПОНЕНТЫ ДВИГАТЕЛЯ И ЭЛЕКТРИКА

Схема запчастей Komatsu PC40-5 - ПАНЕЛЬ ПРИБОРОВ (TBG СПЕЦ-Я) КОМПОНЕНТЫ ДВИГАТЕЛЯ И ЭЛЕКТРИКА
FIT
1:1
100%

Артикул

Название

Примечание

Количество

1

20S-06-21270

PANEL,(FOR CAB)

2

01010-40820

BOLT

3

01220-40820

SCREW

4

01643-30823

WASHER

5

20T-06-31310

GAUGE ASS'Y,CLUSTER

6

08086-20000

SWITCH,STARTING

7

600-815-1790

SIGNAL,HEATER

8

205-06-71321

SWITCH,(FOR CAB)

9

203-06-41570

SWITCH

10

205-06-71331

SWITCH,LAMP

11

205-06-71341

SWITCH,(FOR CAB)

12

20S-06-21210

ASHTRAY,(FOR CAB)

13

20S-06-21190

LIGHTER,(FOR CAB)

14

20S-06-21130

BOX,FUSE

15

08040-02000

FUSE, 20A

16

150-06-14290

TERMINAL

17

01220-40525

SCREW

18

01220-40520

SCREW

19

01580-10504

NUT

20

01601-20513

WASHER,SPRING

21

20S-06-21150

PLATE

22

01220-40406

SCREW

23

01601-20410

WASHER,SPRING

24

09415-00706

CAP

25

20S-06-21161

PLATE

25

20S-06-21160

PLATE

26

20S-06-21171

PLATE

26

20S-06-21170

PLATE

27

01220-40510

SCREW

28

362-54-23680

WASHER

29

20S-06-21690

SPACER

30

20S-06-21180

CLIP

31

08037-02512

GROMMET

Выбрано товаров: 33