Запчасти Komatsu PC40-5 ПОЛ (/) ЧАСТИ КОРПУСА

Схема запчастей Komatsu PC40-5 - ПОЛ (/) ЧАСТИ КОРПУСА
FIT
1:1
100%

Артикул

Название

Примечание

Количество

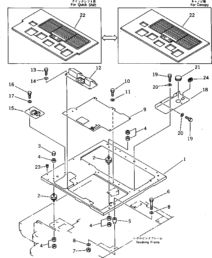
1

20T-54-31210

FRAME

2

362-Z11-1240

CUSHION

3

20T-54-26130

NUT

4

01580-11210

NUT

5

20T-54-11510

BOSS

6

01010-51680

BOLT

7

01580-11613

NUT

8

01643-31645

WASHER

9

20T-54-31240

FLOOR

9

20S-54-22150

FLOOR

10

01010-51025

BOLT

11

01643-31032

WASHER

12

20S-54-22161

COVER

13

01010-51025

BOLT

14

01643-31032

WASHER

15

20S-54-22171

COVER

16

01010-51025

BOLT

17

01643-31032

WASHER

18

20S-54-22190

COVER

19

01010-51025

BOLT

20

01643-31032

WASHER

21

09415-05016

CAP

22

20S-54-22210

MAT,(FOR CANOPY)

22

20S-54-22410

MAT,(FOR CANOPY) (FOR QUICK SHIFT)

22

20S-54-22220

MAT,(FOR CAB)

22

20S-54-22420

MAT,(FOR CAB) (FOR QUICK SHIFT)

23

07049-01012

PLUG,(FOR CANOPY)

24

20S-54-12340

CAP,(FOR CANOPY)

Выбрано товаров: 28