Запчасти Komatsu PC40-5 ПОЛ (/) (TBG СПЕЦ-Я) ЧАСТИ КОРПУСА

Схема запчастей Komatsu PC40-5 - ПОЛ (/) (TBG СПЕЦ-Я) ЧАСТИ КОРПУСА
FIT
1:1
100%

Артикул

Название

Примечание

Количество

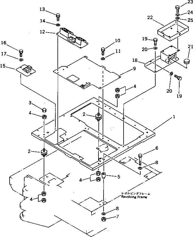
1

20T-54-31210

FRAME

2

362-Z11-1240

CUSHION

3

20T-54-26130

NUT

4

01580-11210

NUT

5

20T-54-11510

BOSS

6

01010-51680

BOLT

7

01580-11613

NUT

8

01643-31645

WASHER

9

20T-54-31240

FLOOR

9

20S-54-22150

FLOOR

10

01010-51025

BOLT

11

01643-31032

WASHER

12

20S-54-24130

COVER

13

01010-51025

BOLT

14

01643-31032

WASHER

15

20S-54-24120

COVER

16

01010-51025

BOLT

17

01643-31032

WASHER

18

20S-54-24110

COVER

19

01010-51025

BOLT

20

01643-31032

WASHER

21

09415-05016

CAP

22

20S-54-15210

CASE

23

01010-50620

BOLT

24

01602-20619

WASHER,SPRING

25

01643-30623

WASHER

Выбрано товаров: 0