Запчасти Komatsu PC40-5 ПОЛ (/) ЧАСТИ КОРПУСА

Схема запчастей Komatsu PC40-5 - ПОЛ (/) ЧАСТИ КОРПУСА
FIT
1:1
100%

Артикул

Название

Примечание

Количество

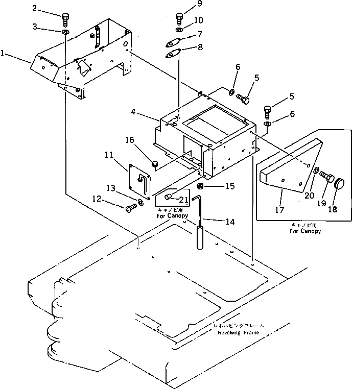
1

20S-54-22130

BOX,PANEL

2

01010-51025

BOLT

3

01643-31032

WASHER

4

20S-54-22121

BOX

5

01010-51025

BOLT

6

01643-31032

WASHER

7

20S-54-22241

PLATE

8

20S-54-22251

SHEET

9

01010-50620

BOLT

10

01643-30623

WASHER

11

20S-54-22230

PLATE

12

01220-40616

SCREW

13

01643-30623

WASHER

14

20T-54-31220

PIN

15

08037-01610

GROMMET

16

09415-01610

CAP

17

20S-54-22181

COVER,(FOR CANOPY)

17

20S-54-22180

COVER,(FOR CANOPY)

18

09415-02512

CAP,(FOR CANOPY)

19

205-54-22270

BOLT,(FOR CANOPY)

19

01010-51065

BOLT,(FOR CANOPY)

20

01602-21030

WASHER,SPRING (FOR CANOPY)

21

07049-01012

PLUG,(FOR CANOPY)

Выбрано товаров: 23