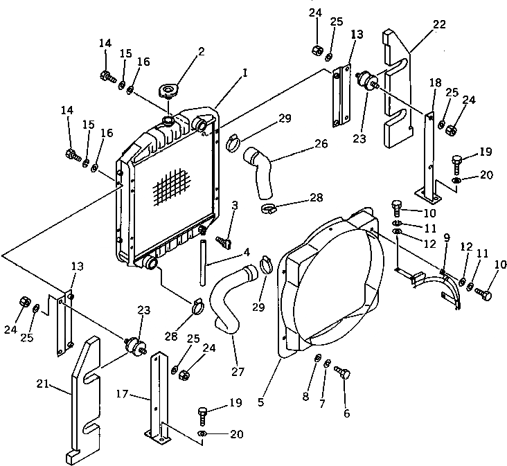
Запчасти Komatsu PC40-5 РАДИАТОР И ТРУБЫ КОМПОНЕНТЫ ДВИГАТЕЛЯ И ЭЛЕКТРИКА

Схема запчастей Komatsu PC40-5 - РАДИАТОР И ТРУБЫ КОМПОНЕНТЫ ДВИГАТЕЛЯ И ЭЛЕКТРИКА
FIT
1:1
100%

Артикул

Название

Примечание

Количество

|$0

20T-03-00030

RADIATOR ASS'Y

1

20T-03-31110

CORE ASS'Y

2

201-03-51310

CAP

3

205-03-62660

PLUG

3

07000-01007

O-RING

4

07270-00820

TUBE

5

20T-03-31181

SHROUD

6

01010-50816

BOLT

7

01602-20825

WASHER,SPRING

8

01643-30823

WASHER

9

20U-03-11140

NET

9

20T-03-31192

NET

10

01010-50816

BOLT

10

01010-50816

BOLT

11

01602-20825

WASHER,SPRING

11

01602-20825

WASHER,SPRING

12

01643-30823

WASHER

12

01643-30823

WASHER

13

20T-03-31131

BRACKET

14

01010-50820

BOLT

15

01602-20825

WASHER,SPRING

16

01643-30823

WASHER

17

20T-03-31140

BRACKET

18

20T-03-31150

BRACKET

19

01010-51025

BOLT

20

01643-31032

WASHER

21

20T-03-31210

SHEET

22

20T-03-31220

SHEET

23

20S-03-11330

CUSHION

24

01580-11008

NUT

25

01643-31032

WASHER

26

20T-03-31161

HOSE

27

20T-03-31171

HOSE

28

07281-00489

CLAMP

29

07281-00549

CLAMP

Выбрано товаров: 35