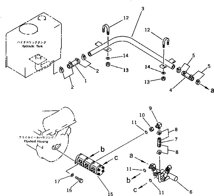
Запчасти Komatsu PC40-5 ГИДРОЛИНИЯ (ИЗ БАКА В НАСОС) УПРАВЛ-Е РАБОЧИМ ОБОРУДОВАНИЕМ

Схема запчастей Komatsu PC40-5 - ГИДРОЛИНИЯ (ИЗ БАКА В НАСОС) УПРАВЛ-Е РАБОЧИМ ОБОРУДОВАНИЕМ
FIT
1:1
100%

Артикул

Название

Примечание

Количество

1

07260-04113

HOSE

2

07281-00609

CLAMP

3

20T-62-61110

TUBE

4

07260-04113

HOSE

5

07281-00609

CLAMP

6

20T-62-61120

TUBE

7

21E-62-11140

HOSE

8

07281-00359

CLAMP

9

20T-62-61141

ELBOW

10

21E-62-11170

NUT

11

22W-62-13420

O-RING

12

07283-24346

CLIP

13

01599-01011

NUT

14

01643-31032

WASHER

15

20T-60-00400

PUMP ASS'Y

16

07372-21030

BOLT

17

01643-31032

WASHER

Выбрано товаров: 17