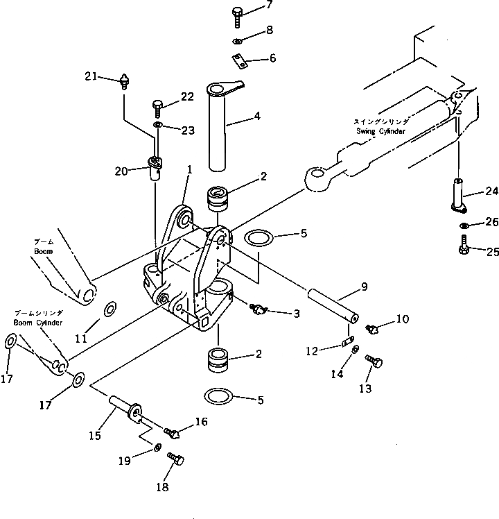
Запчасти Komatsu PC40-5 КОРПУС ПОВОРОТА СТРЕЛЫ РАБОЧЕЕ ОБОРУДОВАНИЕ

Схема запчастей Komatsu PC40-5 - КОРПУС ПОВОРОТА СТРЕЛЫ РАБОЧЕЕ ОБОРУДОВАНИЕ
FIT
1:1
100%

Артикул

Название

Примечание

Количество

|1

20T-70-00350

SWING BRACKET ASS'Y

1

BRACKET

2

20T-70-31150

BUSHING

3

07020-00675

FITTING,GREASE

G-1

20T-70-X5200

SWING PIN GROUP

4

20T-70-31121

PIN

5

20S-70-21460

SPACER¤ 0.5MM

5

20S-70-21470

SPACER¤ 1.0MM

6

205-70-71310

PLATE

7

01010-51235

BOLT

8

01643-31232

WASHER

9

20T-70-15172

PIN

10

07020-00000

FITTING,GREASE

11

201-70-23140

SPACER¤ 1.0MM

12

04082-00212

LOCK

13

01010-51225

BOLT

14

01602-21236

WASHER,SPRING

15

20T-70-25630

PIN

16

07020-00000

FITTING,GREASE

17

201-70-23140

SPACER¤ 1.0MM

18

01010-51635

BOLT

19

01643-31645

WASHER

20

20T-70-31140

PIN

21

07020-00000

FITTING,GREASE

22

01010-51225

BOLT

23

01643-31232

WASHER

24

20T-70-31131

PIN

25

01010-51230

BOLT

26

01643-31232

WASHER

Выбрано товаров: 29