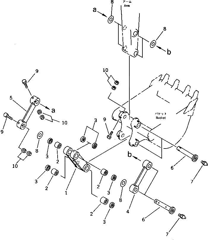
Запчасти Komatsu PC40-5 СОЕДИНИТЕЛЬН. ЗВЕНО РАБОЧЕЕ ОБОРУДОВАНИЕ

Схема запчастей Komatsu PC40-5 - СОЕДИНИТЕЛЬН. ЗВЕНО РАБОЧЕЕ ОБОРУДОВАНИЕ
FIT
1:1
100%

Артикул

Название

Примечание

Количество

G-1

20T-70-X3100

LINK GROUP

|1

20T-70-00330

LINK ASS'Y

1

LINK

2

20T-70-25740

BUSHING

3

07145-00045

SEAL,DUST

4

20T-70-31420

LINK

5

20T-70-31430

LINK

G-2

20T-70-X3200

LINK PIN GROUP

6

20T-70-13121

PIN

7

07020-00000

FITTING,GREASE

8

20T-70-19130

SPACER¤ 1.0MM

9

01011-51210

BOLT

10

01580-11210

NUT

Выбрано товаров: 13