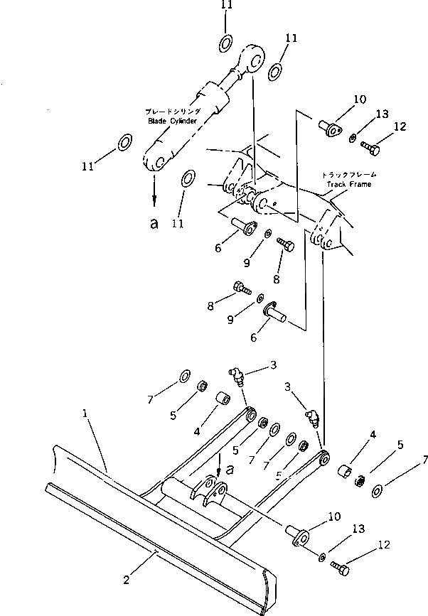
Запчасти Komatsu PC40-5 ОТВАЛ РАБОЧЕЕ ОБОРУДОВАНИЕ

Схема запчастей Komatsu PC40-5 - ОТВАЛ РАБОЧЕЕ ОБОРУДОВАНИЕ
FIT
1:1
100%

Артикул

Название

Примечание

Количество

|1

20T-71-00030

BLADE ASS'Y

1

BLADE

2

20T-71-31120

EDGE (WELDED)

3

07020-00675

FITTING,GREASE

4

07144-10304

BUSHING

5

07145-00035

SEAL,DUST

G-1

20S-71-X1200

BLADE PIN GROUP

6

20S-71-11220

PIN

7

20R-70-11270

SPACER¤ 1.0MM

|7

20S-71-11250

SPACER¤ 2.3MM

8

01010-51225

BOLT

9

01643-31232

WASHER

G-2

20S-71-X1300

BLADE CYLINDER PIN G

10

20S-71-11210

PIN

11

20S-71-11230

SHIM¤ 1.0MM

|11

20S-71-11240

SPACER¤ 2.3MM

12

01010-51225

BOLT

13

01643-31232

WASHER

Выбрано товаров: 18