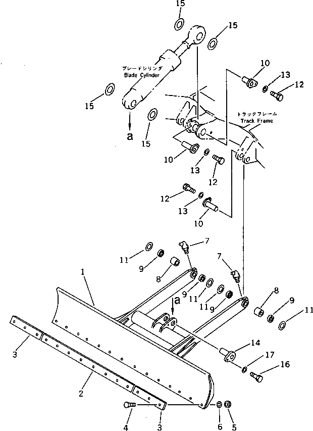
Запчасти Komatsu PC40-5 ОТВАЛ (С РЕЖУЩ. КРОМКА) РАБОЧЕЕ ОБОРУДОВАНИЕ

Схема запчастей Komatsu PC40-5 - ОТВАЛ (С РЕЖУЩ. КРОМКА) РАБОЧЕЕ ОБОРУДОВАНИЕ
FIT
1:1
100%

Артикул

Название

Примечание

Количество

|1

20T-71-00100

BLADE ASS'Y

1

BLADE

2

20T-71-32150

EDGE,CUTTING

3

20S-71-12230

EDGE,CUTTING

4

02090-10845

BOLT

5

02290-10813

NUT

6

01643-31445

WASHER

7

07020-00675

FITTING,GREASE

8

07144-10304

BUSHING

9

07145-00035

SEAL,DUST

G-1

20S-71-X1200

BLADE PIN GROUP

10

20S-71-11220

PIN

11

20R-70-11270

SPACER¤ 1.0MM

11

20S-71-11250

SPACER¤ 2.3MM

12

01010-51225

BOLT

13

01643-31232

WASHER

G-2

20S-71-X1300

BLADE CYLINDER PIN G

14

20S-71-11210

PIN

15

20S-71-11230

SHIM¤ 1.0MM

|15

20S-71-11240

SPACER¤ 2.3MM

16

01010-51225

BOLT

17

01643-31232

WASHER

Выбрано товаров: 22