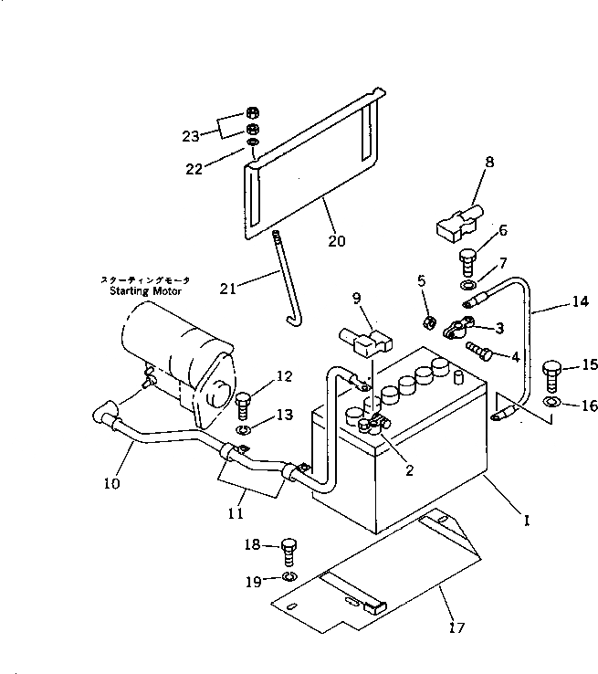
Запчасти Komatsu PC40-5 АККУМУЛЯТОР (ДЛЯ КАБИНЫ)(№97-) КОМПОНЕНТЫ ДВИГАТЕЛЯ И ЭЛЕКТРИКА

Схема запчастей Komatsu PC40-5 - АККУМУЛЯТОР (ДЛЯ КАБИНЫ)(№97-) КОМПОНЕНТЫ ДВИГАТЕЛЯ И ЭЛЕКТРИКА
FIT
1:1
100%

Артикул

Название

Примечание

Количество

1

20T-06-31410

BATTERY¤ 12V 70AH

2

08000-00000

TERMINAL¤ (+)

3

08000-00001

TERMINAL¤ (-)

4

01010-30830

BOLT

5

01580-00806

NUT

6

01050-31018

BOLT

7

01640-01016

WASHER

8

08038-22009

CAP

9

20S-06-13230

TERMINAL COVER

10

20T-06-31190

WIRE ASS'Y

11

08036-02514

CLIP

12

01010-51016

BOLT

13

01602-21030

WASHER,SPRING

14

20R-06-11240

WIRE

15

01010-51016

BOLT

16

01602-21030

WASHER,SPRING

17

20T-06-31431

BRACKET

18

01010-50816

BOLT

19

01602-20825

WASHER,SPRING

20

20T-06-31421

HOLDER

21

20S-06-21570

ROD

22

01641-20812

WASHER

23

01580-10806

NUT

Выбрано товаров: 23