Запчасти Komatsu PC40-5 ГУСЕНИЦЫ (ТРОЙНОЙ ГРУНТОЗАЦЕП. С РЕЗИН.) ХОДОВАЯ

Схема запчастей Komatsu PC40-5 - ГУСЕНИЦЫ (ТРОЙНОЙ ГРУНТОЗАЦЕП. С РЕЗИН.) ХОДОВАЯ
FIT
1:1
100%

Артикул

Название

Примечание

Количество

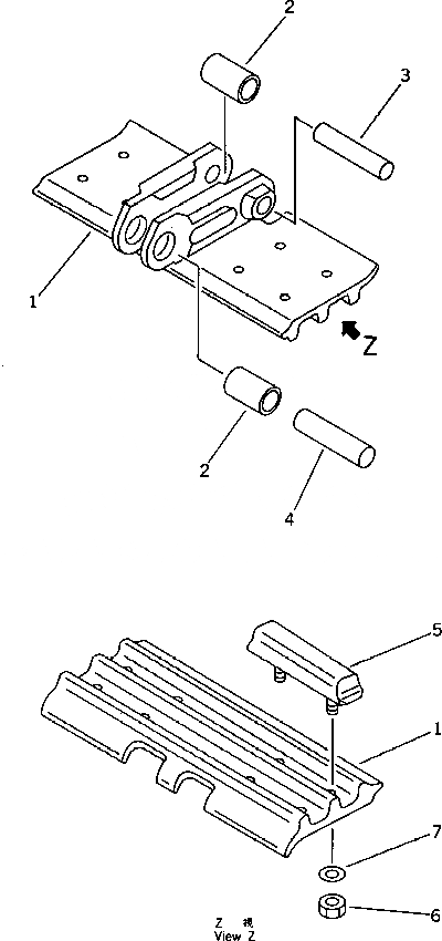
|1

20T-32-00161

TRACK SHOE ASS'Y

|1

20T-32-00160

TRACK SHOE ASS'Y

|1

20T-32-00171

SHOE ASS'Y

|1

20T-32-00170

SHOE ASS'Y

1

SHOE

|1

SHOE

2

20T-32-31160

BUSHING

3

20T-32-31150

PIN,REGULAR

4

20T-32-31190

PIN,MASTER

|5

20T-32-00180

PAD ASS'Y

5

20T-32-21220

CUSHION

6

01580-11210

NUT

7

01643-31232

WASHER

Выбрано товаров: 13