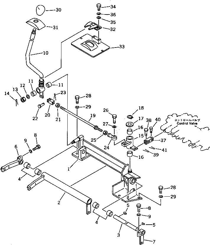
Запчасти Komatsu PC40-5 УПРАВЛЕНИЕ ПОВОРОТОМ СТРЕЛЫ РЫЧАГ И МЕХАНИЗМ (ДЛЯ I.S.O. PATTERN) СИСТЕМА УПРАВЛЕНИЯ И ОСНОВНАЯ РАМА

Схема запчастей Komatsu PC40-5 - УПРАВЛЕНИЕ ПОВОРОТОМ СТРЕЛЫ РЫЧАГ И МЕХАНИЗМ (ДЛЯ I.S.O. PATTERN) СИСТЕМА УПРАВЛЕНИЯ И ОСНОВНАЯ РАМА
FIT
1:1
100%

Артикул

Название

Примечание

Количество

|1

20T-43-00320

BRACKET ASS'Y

1

20T-43-36110

BRACKET

2

20T-43-31121

LEVER

3

20T-43-31131

SHAFT

4

195-61-34130

BEARING

5

04010-00519

KEY

6

20T-43-31141

LEVER

7

20T-43-31180

LEVER

8

01010-50830

BOLT

9

01602-20825

WASHER,SPRING

10

20T-43-35160

LEVER

11

09350-02015

BUSHING

12

01643-31232

WASHER

13

01593-11210

NUT

14

04050-13020

PIN,COTTER

15

20T-43-35150

LEVER

16

195-61-34130

BEARING

17

01640-22032

WASHER

18

04064-02012

RING,SNAP

19

04248-31034

ROD

20

20S-43-12150

YOKE

21

01508-21006

NUT

22

04205-10822

PIN

23

04050-12012

PIN,COTTER

24

04250-41056

END,ROD

25

01582-11008

NUT

26

01010-51035

BOLT

27

01643-31032

WASHER

28

01010-51030

BOLT

29

01602-21030

WASHER,SPRING

30

20D-43-11370

KNOB

31

20S-43-11230

COVER

32

20S-43-15140

HINGE

33

20S-54-24120

COVER

34

01010-50820

BOLT

35

01643-30823

WASHER

36

01602-20825

WASHER,SPRING

37

20T-43-35170

YOKE

38

04205-10822

PIN

39

04050-12012

PIN,COTTER

40

04205-10520

PIN

41

04050-11210

PIN,COTTER

Выбрано товаров: 42