Запчасти Komatsu PC40-5 ОСНОВНАЯ РАМА СИСТЕМА УПРАВЛЕНИЯ И ОСНОВНАЯ РАМА

Схема запчастей Komatsu PC40-5 - ОСНОВНАЯ РАМА СИСТЕМА УПРАВЛЕНИЯ И ОСНОВНАЯ РАМА
FIT
1:1
100%

Артикул

Название

Примечание

Количество

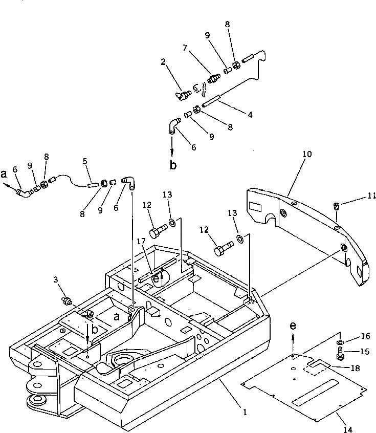
1

20T-46-31112

FRAME,REVOLVING

|1

20T-46-31111

FRAME,REVOLVING

2

07020-00675

FITTING,GREASE

3

07020-00000

FITTING,GREASE

4

20T-54-26760

TUBE

5

20T-46-31210

TUBE

6

20R-46-11150

ELBOW

7

20R-46-11160

CONNECTOR

8

07832-00410

NUT

9

07831-00411

SLEEVE

10

20T-46-31310

WEIGHT,COUNTER

11

07049-02025

PLUG

12

01010-52040

BOLT

13

01643-32060

WASHER

14

20T-54-34111

COVER

15

01010-51020

BOLT

16

01643-31032

WASHER

17

201-03-51190

PACKING

18

20T-46-31160

SEAT

Выбрано товаров: 19