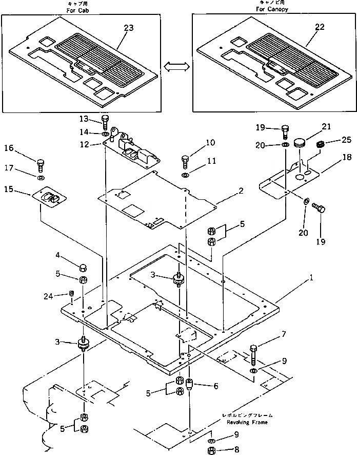
Запчасти Komatsu PC40-5 ПОЛ (ДЛЯ НАВЕСН. ОБОРУД.) ЧАСТИ КОРПУСА

Схема запчастей Komatsu PC40-5 - ПОЛ (ДЛЯ НАВЕСН. ОБОРУД.) ЧАСТИ КОРПУСА
FIT
1:1
100%

Артикул

Название

Примечание

Количество

G-1

20T-973-X140

FRAME GROUP,(FOR ATTACHMENT)

1

20T-973-4310

FRAME,(FOR ATTACHMENT)

2

20S-973-2320

FLOOR,(FOR ATTACHMENT)

3

362-Z11-1240

CUSHION

4

20T-54-26130

NUT

5

01580-11210

NUT

6

20T-54-11510

BOSS

7

01010-51680

BOLT

8

01580-11613

NUT

9

01643-31645

WASHER

10

01010-51025

BOLT

11

01643-31032

WASHER

G-2

20T-973-X510

FLOOR GROUP,(FOR ATTACHMENT)

12

20S-973-2330

COVER,(MODIFIED PART FOR ATTACHMENT)

13

01010-51025

BOLT

14

01643-31032

WASHER

15

20S-54-22171

COVER

16

01010-51025

BOLT

17

01643-31032

WASHER

18

20S-54-22190

COVER

19

01010-51025

BOLT

20

01643-31032

WASHER

21

09415-05016

CAP

G-3

20T-973-X310

FLOOR MAT GROUP,(FOR ATTACHMENT)

22

20S-973-2360

MAT,(FOR CANOPY) (FOR ATTACHMENT)

G-4

20T-973-X150

FLOOR MAT GROUP,(FOR ATTACHMENT)

23

20T-973-2350

FLOOR,(FOR CAB) (FOR ATTACHMENT)

24

07049-01012

PLUG,(FOR CANOPY)

25

20S-54-12340

CAP,(FOR CANOPY)

Выбрано товаров: 0