Запчасти Komatsu PC40-5 КАБИНА (/) ЧАСТИ КОРПУСА

Схема запчастей Komatsu PC40-5 - КАБИНА (/) ЧАСТИ КОРПУСА
FIT
1:1
100%

Артикул

Название

Примечание

Количество

|1

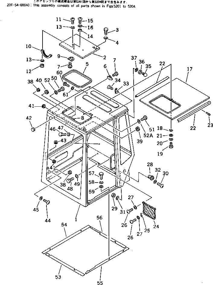
20T-54-00040

OPERATOR'S CAB ASS'Y

1

20T-54-32110

CAB

2

20T-54-32310

COVER

3

01010-50812

BOLT

4

01602-20825

WASHER,SPRING

5

20T-54-32520

SEAL

6

203-54-11290

CATCHER

7

01220-40410

SCREW

8

203-54-11320

PLATE (WELDED)

9

203-54-11310

HOOK

10

20N-54-39980

GRIP

11

01220-40512

SCREW

12

01580-10504

NUT

13

01601-20513

WASHER,SPRING

14

20T-54-32930

BOSS

15

01220-40406

SCREW

16

01601-00410

WASHER,SPRING

17

20T-54-32610

BOARD

18

20T-54-25440

PLATE

19

01220-40410

SCREW

20

01601-00410

WASHER,SPRING

21

01641-20405

WASHER

22

20T-54-32620

FINISHER

23

20T-54-32940

RIVET

24

565-54-13850

POCKET

25

565-54-13860

SADDLE

26

01370-00410

SCREW

27

01611-04045

WASHER

28

20T-54-25340

CATCH

29

01580-10504

NUT

30

01220-40516

SCREW

31

01601-00513

WASHER,SPRING

32

01641-20508

WASHER

33

205-54-51250

HANGER

34

01381-10416

SCREW

35

21K-54-11310

STOPPER

|35

20T-54-32640

STOPPER

36

01580-11210

NUT

37

01642-21216

WASHER

38

08037-01008

GROMMET

39

08037-01610

GROMMET

40

09415-01610

CAP

41

09415-01008

CAP

42

09415-00506

CAP

43

08037-02512

GROMMET

44

01220-40508

SCREW

45

01641-20508

WASHER

46

01010-50610

BOLT

47

01602-20619

WASHER,SPRING

48

01010-51016

BOLT

49

01643-31032

WASHER

50

01220-40510

SCREW

51

01220-40516

SCREW

52

01641-20508

WASHER

52A

01641-20608

WASHER

53

20T-54-32560

SEAT

54

20T-54-32570

SEAT

55

20T-54-32580

SEAT

56

20T-54-32590

SEAT

57

01010-31030

BOLT

58

01602-01030

WASHER,SPRING

59

01643-31032

WASHER

60

01370-00408

SCREW

61

01641-20405

WASHER

Выбрано товаров: 64