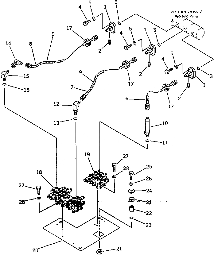
Запчасти Komatsu PC40-5 ГИДРОЛИНИЯ (ИЗ НАСОСА В КЛАПАН) УПРАВЛ-Е РАБОЧИМ ОБОРУДОВАНИЕМ

Схема запчастей Komatsu PC40-5 - ГИДРОЛИНИЯ (ИЗ НАСОСА В КЛАПАН) УПРАВЛ-Е РАБОЧИМ ОБОРУДОВАНИЕМ
FIT
1:1
100%

Артикул

Название

Примечание

Количество

1

20T-62-61240

TUBE

2

07042-20108

PLUG

3

07000-13025

O-RING

4

01010-50835

BOLT

5

01602-20825

WASHER,SPRING

6

20S-62-21510

HOSE

7

20T-62-61220

HOSE

8

20T-62-61250

HOSE

9

203-62-32440

COVER

10

20R-62-21520

ELBOW

11

07002-12034

O-RING

12

20R-62-21510

ELBOW

13

07002-12034

O-RING

14

20T-62-61230

TUBE

15

07235-10422

ELBOW

16

07002-12034

O-RING

17

08037-03614

GROMMET

18

709-36-11701

VALVE ASS'Y

19

709-33-11401

VALVE ASS'Y

20

20T-60-32180

BRACKET

21

203-62-42770

CUSHION

22

20X-62-21550

SPACER

23

07000-03025

O-RING

24

566-35-42430

PLATE

25

01010-51250

BOLT

26

01643-31232

WASHER

27

01010-50825

BOLT

28

01602-20825

WASHER,SPRING

Выбрано товаров: 0