Запчасти Komatsu PC40-6 ЦИЛИНДР СТРЕЛЫ(ДЛЯ КАБИНЫ) РАБОЧЕЕ ОБОРУДОВАНИЕ

Схема запчастей Komatsu PC40-6 - ЦИЛИНДР СТРЕЛЫ(ДЛЯ КАБИНЫ) РАБОЧЕЕ ОБОРУДОВАНИЕ
FIT
1:1
100%

Артикул

Название

Примечание

Количество

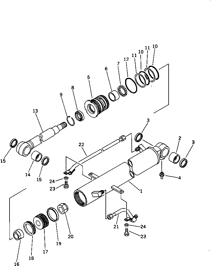
G-1

20T-63-X2050

BOOM CYLINDER GROUP

|$2

20T-63-02050

CYLINDER ASS'Y,(FOR CAB)

1

20T-63-56840

CYLINDER

2

07144-10505

BUSHING

3

07145-00050

SEAL,DUST

4

07020-00000

FITTING,GREASE

5

707-29-90380

HEAD,CYLINDER

6

07177-05530

BUSHING

7

707-51-55211

PACKING,ROD

8

707-56-55510

SEAL,DUST

9

07179-12069

RING,SNAP

10

07000-12085

O-RING

11

07146-02086

RING,BACK-UP

12

07000-02090

O-RING

13

20T-63-56820

ROD,PISTON

14

07143-10505

BUSHING

15

07145-00050

SEAL,DUST

16

707-71-60670

PLUNGER

17

707-36-90260

PISTON

18

707-44-90180

RING,PISTON

19

07156-00912

RING,WEAR

20

07165-13638

NUT

21

20T-63-56871

TUBE

22

20T-63-56881

TUBE

23

01010-31025

BOLT

24

01643-31032

WASHER

Выбрано товаров: 0