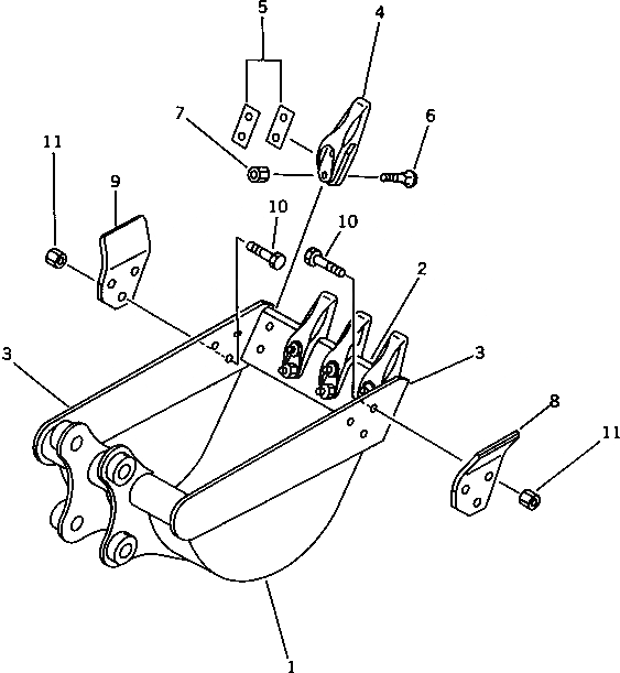
Запчасти Komatsu PC40-6 КОВШ .M (MINI .M) ШИР. MM (УСИЛЕНН.) РАБОЧЕЕ ОБОРУДОВАНИЕ

Схема запчастей Komatsu PC40-6 - КОВШ .M (MINI .M) ШИР. MM (УСИЛЕНН.) РАБОЧЕЕ ОБОРУДОВАНИЕ
FIT
1:1
100%

Артикул

Название

Примечание

Количество

|$0

20T-70-00570

BUCKET ASS'Y

G-1

20T-70-X4500

BUCKET GROUP

1

20T-70-42210

BUCKET

2

20T-70-42220

LIP

3

20T-70-42230

PLATE

G-2

20U-70-X1480

TOOTH GROUP

4

103-70-22140

TOOTH

5

20U-70-05010

SHIM ASS'Y

5

SHIM, 0.5MM

5

SHIM, 1.0MM

6

113-70-22160

BOLT

7

113-70-22280

NUT

G-3

20U-70-X1490

SIDE CUTTER GROUP

8

20U-70-13240

CUTTER,L.H.

9

20U-70-13250

CUTTER,R.H.

10

01802-02265

BOLT

11

01803-02228

NUT

Выбрано товаров: 17