Запчасти Komatsu PC40-6 ГУСЕНИЦЫ (ТРОЙНОЙ ГРУНТОЗАЦЕП. С РЕЗИН.) (MONO-БЛОК ТИП)(№-7) ХОДОВАЯ

Схема запчастей Komatsu PC40-6 - ГУСЕНИЦЫ (ТРОЙНОЙ ГРУНТОЗАЦЕП. С РЕЗИН.) (MONO-БЛОК ТИП)(№-7) ХОДОВАЯ
FIT
1:1
100%

Артикул

Название

Примечание

Количество

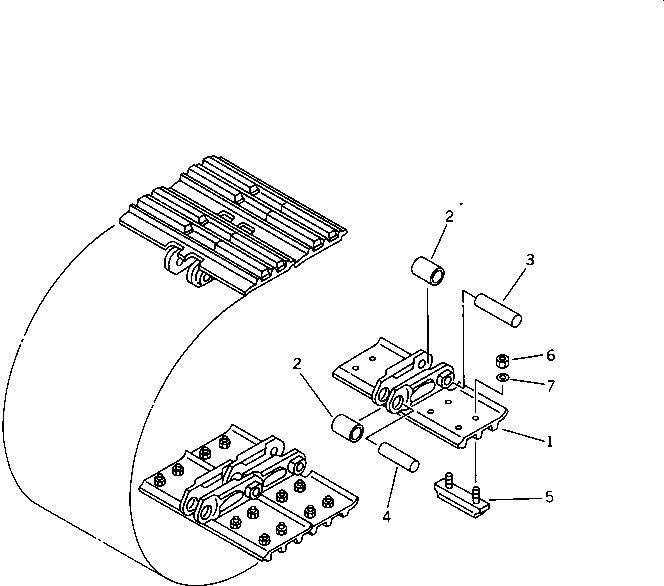
|$1

20T-32-00071

TRACK SHOE ASS'Y

|$2

20T-32-00241

SHOE ASS'Y

1

SHOE

2

20T-32-31161

BUSHING

3

20T-32-31150

PIN,REGULAR

4

20T-32-31190

PIN,MASTER

|$7

20T-32-00180

PAD ASS'Y

5

20T-32-21220

CUSHION

6

01580-11210

NUT

7

01643-31232

WASHER

Выбрано товаров: 10