Качественные детали и логистика
Оригинальные и аналоговые запчасти с доставкой по России, Казахстану и Беларуси
©2022 PartSell ООО "Система" ИНН 2463123282 ОГРН 1212400004838
Центральный офис: г. Красноярск, Академика Киренского, д.87, пом.4
Телефон: 8 (800) 777-65-74 Email: zakaz@partsell.ru
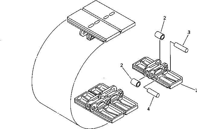
ГУСЕНИЦЫ () (MONO-БЛОК ТИП)(№-7)
№
Артикул
Название
Примечание
Количество
|$1
20T-32-00024
TRACK SHOE ASS'Y
|$2
20T-32-00231
SHOE ASS'Y
1
SHOE
2
20T-32-31161
BUSHING
3
20T-32-31150
PIN,REGULAR
4
20T-32-31190
PIN,MASTER
Выбрано товаров: 0