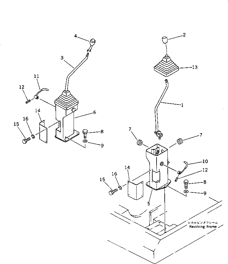
Запчасти Komatsu PC40-6 РЫЧАГ УПРАВЛЕНИЯ РАБОЧИМ ОБОРУДОВАНИЕМ (/) (6-ПОЗИЦИОНН. СПЕЦИФИКАЦИЯ)(№899-) СИСТЕМА УПРАВЛЕНИЯ И ОСНОВНАЯ РАМА

Схема запчастей Komatsu PC40-6 - РЫЧАГ УПРАВЛЕНИЯ РАБОЧИМ ОБОРУДОВАНИЕМ (/) (6-ПОЗИЦИОНН. СПЕЦИФИКАЦИЯ)(№899-) СИСТЕМА УПРАВЛЕНИЯ И ОСНОВНАЯ РАМА
FIT
1:1
100%

Артикул

Название

Примечание

Количество

1

20T-43-48120

LEVER,L.H.

2

203-43-41910

KNOB

3

20T-43-48140

LEVER,R.H.

4

203-06-42131

SWITCH,HORN

5

20T-43-48112

STAND,L.H.

6

20T-43-48222

STAND,R.H.

7

09415-02512

CAP

8

01010-51230

BOLT

9

01643-31232

WASHER

10

20S-43-31170

LEVER,LOCK, L.H.

11

205-43-63820

LEVER,LOCK, R.H.

12

04025-00520

PIN,SPRING

13

20X-43-21730

BOOT

14

20S-43-31131

PLATE

15

01010-50616

BOLT

16

01643-30623

WASHER

Выбрано товаров: 16