Запчасти Komatsu PC40-6 ГИДРОЛИНИЯ (ГИДРОМОЛОТ ЛИНИЯ) РАБОЧЕЕ ОБОРУДОВАНИЕ

Схема запчастей Komatsu PC40-6 - ГИДРОЛИНИЯ (ГИДРОМОЛОТ ЛИНИЯ) РАБОЧЕЕ ОБОРУДОВАНИЕ
FIT
1:1
100%

Артикул

Название

Примечание

Количество

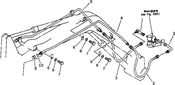
G-1

20T-970-X180

BOOM PIPING GROUP,(FOR BREAKER)

1

20T-970-4410

TUBE

2

20T-970-4420

TUBE

3

07108-20508

HOSE

4

20T-970-4430

TUBE

5

20T-970-4440

TUBE

6

20T-62-21890

CLAMP

7

01010-51025

BOLT

8

01643-31032

WASHER

9

20S-970-3641

PLUG

10

02890-01023

O-RING

Выбрано товаров: 11