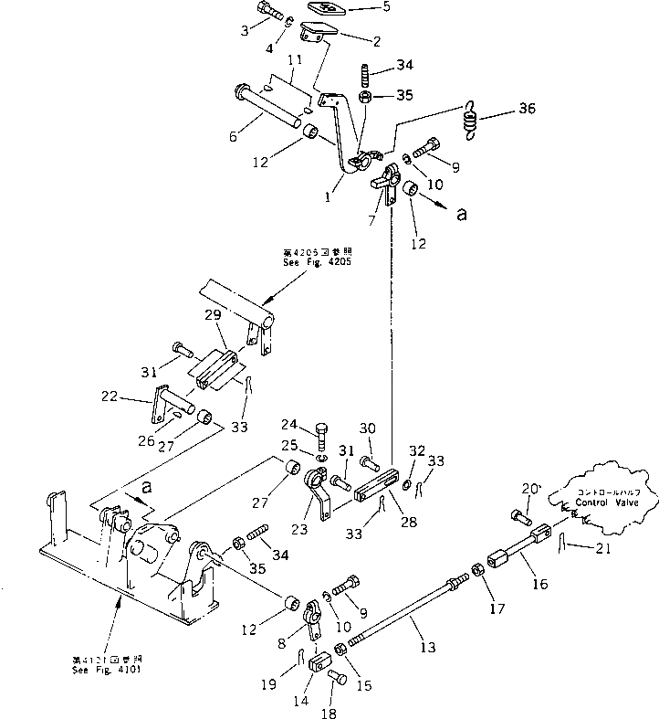
Запчасти Komatsu PC40-6 ПЕДАЛЬ СКОРОСТИ И МЕХАНИЗМ (ДЛЯ ЯПОН.) СИСТЕМА УПРАВЛЕНИЯ И ОСНОВНАЯ РАМА

Схема запчастей Komatsu PC40-6 - ПЕДАЛЬ СКОРОСТИ И МЕХАНИЗМ (ДЛЯ ЯПОН.) СИСТЕМА УПРАВЛЕНИЯ И ОСНОВНАЯ РАМА
FIT
1:1
100%

Артикул

Название

Примечание

Количество

1

20T-43-41420

LEVER

2

201-43-38150

PEDAL

3

01010-50816

BOLT

4

01602-20825

WASHER,SPRING

5

20D-43-14370

CAP,PEDAL

6

20T-43-41440

SHAFT

7

20T-43-41430

LEVER

8

20T-43-31290

LEVER

9

01010-50830

BOLT

10

01602-20825

WASHER,SPRING

11

04010-00519

KEY

12

195-61-34130

BEARING

13

04248-31031

ROD

14

20S-43-12150

YOKE,L.H. THREAD

15

01508-41006

NUT,L.H. THREAD

16

20S-43-21580

ROD

17

01582-11008

NUT

18

04205-10822

PIN

19

04050-12012

PIN,COTTER

20

04205-10520

PIN

21

04050-11210

PIN,COTTER

22

20T-43-41450

SHAFT

23

20T-43-41460

LEVER

24

01010-50830

BOLT

25

01602-20825

WASHER,SPRING

26

04010-00519

KEY

27

195-61-34130

BEARING

28

20T-43-41480

YOKE

29

20T-43-41470

YOKE

30

04205-10825

PIN

31

04205-10822

PIN

32

01641-20812

WASHER

33

04050-12012

PIN,COTTER

34

01310-21032

SCREW

35

01580-11008

NUT

36

111-33-32131

SPRING

Выбрано товаров: 36