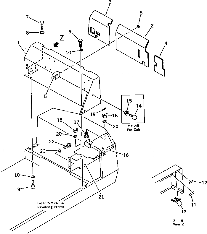
Запчасти Komatsu PC40-6 MACHINERY ОБСТАНОВКА (/)(№899-) ЧАСТИ КОРПУСА

Схема запчастей Komatsu PC40-6 - MACHINERY ОБСТАНОВКА (/)(№899-) ЧАСТИ КОРПУСА
FIT
1:1
100%

Артикул

Название

Примечание

Количество

|1

20T-54-41101

COVER ASS'Y

1

COVER

2

20T-54-41120

SHEET

3

20T-54-41151

SHEET

4

20T-54-41180

SHEET

5

04431-11000

CLIP

6

04431-30000

PLATE

7

01010-51430

BOLT

8

01643-31445

WASHER

9

01010-51030

BOLT

10

01643-31032

WASHER

11

20T-54-41410

SHEET

12

20T-54-31170

SHEET

13

20T-54-41160

SEAL

14

20T-54-27591

STOPPER,(FOR CAB)

15

01580-11210

NUT,(FOR CAB)

16

20T-54-41710

COVER

17

01012-51030

BOLT

18

203-06-51170

NUT

19

04052-11038

PIN,SNAP

20

01642-21016

WASHER

21

20T-54-41721

COVER

22

01010-51020

BOLT

23

01643-31032

WASHER

Выбрано товаров: 24