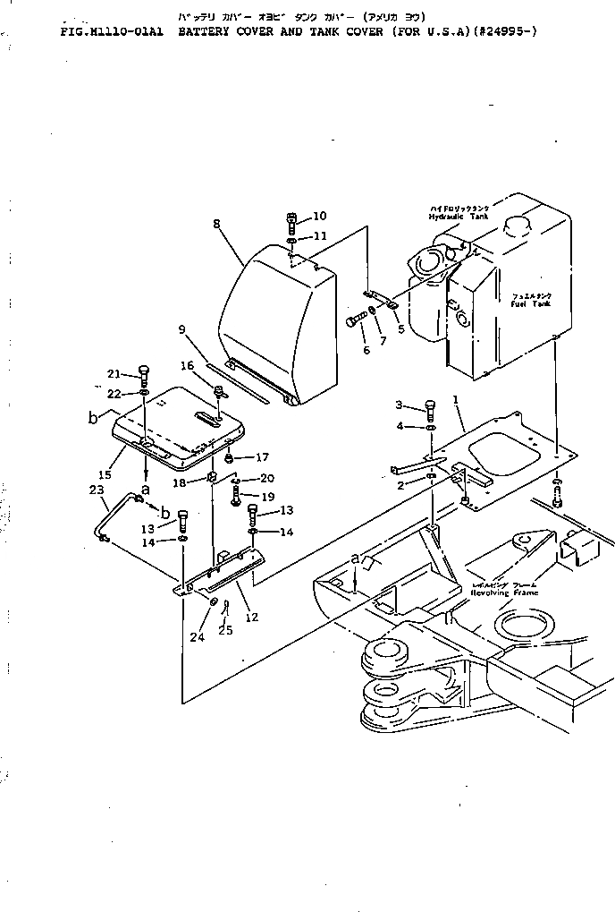
Запчасти Komatsu PC40-7 КРЫШКА АККУМУЛЯТОРА И БАК КРЫШКА(ДЛЯ U.S.A)(№99-) ЧАСТИ КОРПУСА

Схема запчастей Komatsu PC40-7 - КРЫШКА АККУМУЛЯТОРА И БАК КРЫШКА(ДЛЯ U.S.A)(№99-) ЧАСТИ КОРПУСА
FIT
1:1
100%

Артикул

Название

Примечание

Количество

1

20T-60-71121

BRACKET

2

20R-04-21130

SHIM, 1.0MM

3

01010-51230

BOLT

4

01643-31232

WASHER

5

20T-54-71770

BRACKET

6

01010-51020

BOLT

7

01643-31032

WASHER

8

20T-54-71711

COVER

9

20T-54-71760

SEAL

10

20T-54-71550

BOLT

11

01643-30823

WASHER

12

20T-54-77130

BRACKET

13

01010-51020

BOLT

14

01643-31032

WASHER

15

20T-54-77120

COVER

16

205-60-71220

LOCK ASS'Y

17

203-54-32260

STOPPER

18

20R-54-11460

SPRING

19

01220-40510

SCREW

20

01601-20513

WASHER,SPRING

21

01010-51020

BOLT

22

01643-31032

WASHER

23

20T-54-77110

BAR

24

01641-20608

WASHER

25

04050-11612

PIN,COTTER

Выбрано товаров: 25