Запчасти Komatsu PC40-7 КОВШ¤ .M (MINI .M) MM (ВЕРТИКАЛЬН. ПАЛЕЦ)(№8-) РАБОЧЕЕ ОБОРУДОВАНИЕ

Схема запчастей Komatsu PC40-7 - КОВШ¤ .M (MINI .M) MM (ВЕРТИКАЛЬН. ПАЛЕЦ)(№8-) РАБОЧЕЕ ОБОРУДОВАНИЕ
FIT
1:1
100%

Артикул

Название

Примечание

Количество

|$0

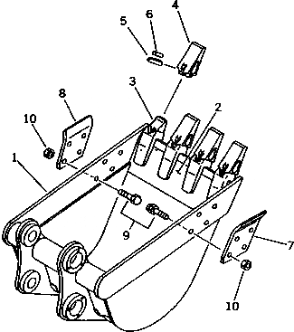
20T-70-00950

BUCKET ASS'Y

1

20T-70-77810

BUCKET,(535MM)

2

20T-70-77820

LIP (WELDED)

3

20T-70-71830

ADAPTER (WELDED)

4

20T-70-71840

TOOTH

5

20T-70-71850

PIN

6

20T-70-71860

LOCK

7

20U-70-13241

CUTTER,SIDE, L.H.

8

20U-70-13251

CUTTER,SIDE, R.H.

9

20U-70-13270

BOLT

10

203-32-51220

NUT

Выбрано товаров: 11